STMicroelectronics ISO8200AQ Galvanisch getrennter Achtkanal-Treiber
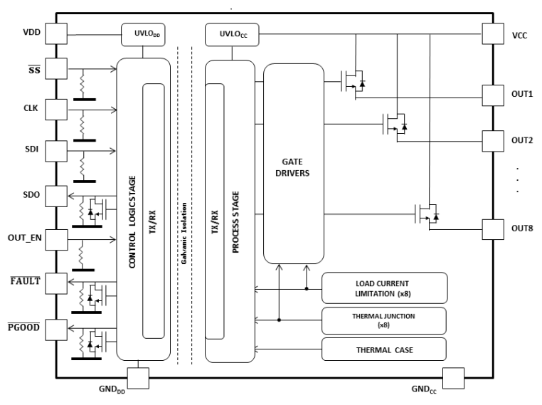
STMicroelectronics ISO8200AQ Galvanisch getrennte Achtkanal-Treiber verfügen über einen sehr geringen Versorgungsstrom und enthalten zwei unabhängige galvanisch getrennte Spannungsdomänen. Diese umfassen VCC und VDD für die Prozess- und Steuerlogikstufen. Der IC dient dazu, jede Art von Last, die an einer Seite mit Masse verbunden ist, anzusteuern.Die Steuerlogikstufe verfügt über ein 8-Bit-Ausgangsstatusregister. Hier legt der μC den Status EIN/AUS auf den Ausgangskanälen in der Prozessstufe fest. Eine 8-Bit-Fehlerregister ermöglicht das Speichern von OVT-Fehlern der einzelnen Kanäle. Die beiden Stufen kommunizieren über den galvanisch getrennten Kanal über ein proprietäres Protokoll von ST.Merkmale
- Vdemag = VCC – 45 V (pro Kanal)
- RDS(on) = 0,11 Ω (pro Kanal)
- IOUT = 0,7 A (pro Kanal)
- VCC = 45 V
- SPI-Schnittstelle mit Verkettung (Daisy-Chaining)
- 5 V und 3,3 V TTL/CMOS- und µC-kompatible I/Os
- Gemeinsamer Ausgangs-Aktivierungs-/Deaktivierungs-Pin
- Schnelle Entmagnetisierung induktiver Lasten
- Reset-Funktion für die Deaktivierung der IC-Ausgänge
- Sehr niedriger Versorgungsstrom
- Unterspannungs-Abschaltung mit Auto-Neustart und Hysterese
- Kurzschluss-Sicherung
- Übertemperaturschutz für jeden Kanal separat
- Thermische Unabhängigkeit separater Kanäle
- Gehäuse-Übertemperaturschutz
- Erdungsverlust- und Versorgungsschutzfunktionen
- Überspannungsschutz (VCC-Klemmung)
- Ausgang für Open-Drain-Fehlermeldung
- POWER-GOOD-Open-Drain-Ausgang
- Hohe flüchtige Gleichtaktsicherheit
- ESD-Schutz
Applikationen
- Programmierbare Logik-Steuerung
- Industrieller PC-Peripherie-Ein-/Ausgang
- Numerische Steuerungsmaschinen
- Treiber für alle Arten von Lasten (resistiv, kapazitiv, induktiv)
Blockdiagramm
Videos
Veröffentlichungsdatum: 2019-04-23
| Aktualisiert: 2024-02-20
