STMicroelectronics L99MC6GJ Treiber mit mittlerer Ausgangsstromstärke
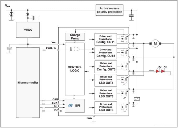
Der L99MC6GJ Treiber mit mittlerer Ausgangsstromstärke von STMicroelectronicsist ist ein hochflexibler monolithischer Treiber. Er umfasst drei zugeordnete Low-Side-Ausgänge (Kanäle 4 bis 6) und drei unabhängig selbstkonfigurierbare Ausgänge (Kanäle 1 bis 3). Diese können entweder als Low-Side- oder High-Side-Treiber in beliebiger Kombination verwendet werden. Die L99MC6GJ können induktive Lasten, weiße Glühlampen oder LEDs steuern.Merkmale
- 3 independently self configuring high-/low-side channels
- 3 low-side channels
- 0.7Ω RON (typ) at Tj= +25°C
- Current limit of each output at min. 0.6A
- PWM direct mode
- Bulb mode with recovery mode
- LED mode with slew rate control
- Bridge mode with crosscurrent protection
- SPI interface for data communication
- Temperature warning
- All outputs overtemperature protected
- All outputs short-circuit protected
- Configurable open-load detection in off mode
- 3.0V to 5.25V supply voltage
- 5μA (typ) current consumption in standby mode
- Internal clamp diodes
- HS switches operate down to 3V crank voltage
Applikationen
- Relay drivers
- LED drivers
- Motor drivers
- Mirror adjustment
Application Diagram
Veröffentlichungsdatum: 2015-04-23
| Aktualisiert: 2022-03-11
