STMicroelectronics STMicroelectronics LSM9DS1 iNEMO Trägheitssensor

Der STMicroelectronics LSM9DS1 iNEMO Trägheitssensor ist ein System-in-Package mit einem digitalen 3D-Linearbeschleunigungssensor, einem digitalen 3D-Winkelgeschwindigkeitssensor und einem digitalen 3D-Magnetsensor. Der LSM9DS1 verfügt über einen linearen Beschleunigungsendwert von ±2g/±4g/±8g, einen Magnetfeldendwert von ±4/±8/±12/±16 Gauss und eine Winkelgeschwindigkeit von ±245/±500/±2000dps. Der LSM9DS1 enthält eine I2C serielle Busschnittstelle, die Standard- und Fast-Modus (100kHz und 400kHz) unterstützt und eine SPI serielle Standardschnittstelle. Magnetische, Beschleunigungsmesser- und Gyroskop-Erfassung kann aktiviert oder im Power-Down-Modus getrennt für intelligente Energieverwaltung eingestellt werden. Der LSM9DS1 ist in einem Land-Grid-Array-Gehäuse (LGA) aus Kunststoff erhältlich und der Betrieb über einen erweiterten Temperaturbereich von -40°C bis +85°C wird garantiert.

Merkmale

  • 3 acceleration channels, 3 angular rate channels, 3 magnetic field channels
  • ±2/±4/±8g linear acceleration full scale
  • ±4/±8/±12/±16 gauss magnetic full scale
  • ±245/±500/±2000dps angular rate full scale
  • 16-bit data output
  • SPI / I2C serial interfaces
  • Programmable interrupt generators
  • Analog supply voltage 1.9V to 3.6V
  • "Always-on" eco power mode down to 1.9mA
  • Embedded temperature sensor
  • Embedded FIFO
  • Position and motion detection functions
  • Click/double-click recognition
  • Intelligent power saving for handheld devices

Applikationen

  • Indoor navigation
  • Smart user interfaces
  • Advanced gesture recognition
  • Gaming and virtual reality input devices
  • Display/map orientation and browsing

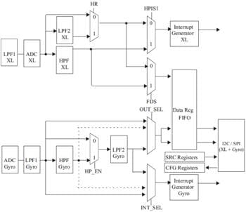
Block Diagrams

The STMicroelectronics LSM9DS1 iNEMO Inertial Module is available in a plastic land grid array package (LGA) and it is guaranteed to operate over an extended temperature range from -40°C to +85°C.

 

Veröffentlichungsdatum: 2014-09-12 | Aktualisiert: 2022-03-11