STMicroelectronics STM32WLE5/E4xx Drahtlose 32-Bit-MCUs mit großer Reichweite
STMicroelectronics STM32WLE4xx und STM32WLE5xx 32-Bit-MCUs Wireless mit großer Reichweite integrieren eine leistungsstarke und extrem stromsparende LPWAN-Funklösung, die aus LoRa® (nur verfügbar in STM32WLE5xx), (G)FSK, (G)MSK und BPSK besteht. Die STM32WLE5/E4xx MCUs sind für einen außergewöhnlich geringen Stromverbrauch ausgelegt und basieren auf dem leistungsstarken ARM® Cortex®-M4 32-bit RISC-Core, der mit einer Frequenz von bis zu 48 MHz betrieben wird. Der ARM-Core implementiert einen vollen Satz von DSP-Befehlen und eine unabhängige Speicherschutzeinheit (MPU), welche die Sicherheit der Applikation erhöht..Merkmale
- Funk
- Frequenzbereich: 150 MHz bis 960 MHz
- LoRa-, (G)FSK-, (G)MSK- und BPSK-Modulation
- RX-Empfindlichkeit von –123 dBm für 2-FSK (bei 1,2 kBit/s), –148 dBm für LoRa (bei 10,4 kHz, Verteilungsfaktor 12)
- Hohe Ausgangsleistung des Senders, programmierbar bis zu +22 dBm
- Geringe Ausgangsleistung des Senders, programmierbar bis zu +15 dBm
- Konform mit den folgenden Funkfrequenzregelungen: ETSI EN 300 220, EN 300 113, EN 301 166, FCC CFR 47 Teil 15, 24, 90, 101 und dem japanischen ARIB STD-T30, T-67, T-108
- Extrem stromsparende Plattform
- Stromversorgung: 1,8 V bis 3,6 V
- -40°C bis +105°C Temperaturbereich
- Abschaltmodus von 31 nA (VDD = 3 V)
- STANDBY-Modus (+ RTC) von 360 nA (VDD = 3 V)
- Stop2 (+ RTC) Modus von 1,07 µA (VDD = 3 V)
- <72 µA/MHz (CoreMark®) MCU im aktiven Modus
- Aktivmodus-RX: 4,82 mA
- Aktivmodus-TX: 15 mA bei 10 dBm und 87 mA bei 20 dBm (LoRa 125 kHz)
- Core
- ARM® Cortex®-M4-32-Bit-CPU
- Adaptiver Echtzeit-Beschleuniger (ART Accelerator) ermöglicht 0-Wartezustands-Ausführung aus Flash-Speicher, Frequenz bis zu 48 MHz, MPU- und DSP-Anweisungen
- 1,25 DMIPS/MHz (Dhrystone 2.1)
- Sicherheit und Identifikation
- AES-256-Bit-Hardware-Verschlüsselung
- Echter Zufallsnummerngenerator (RNG)
- Sektorschutz gegen Lese-/Schreibvorgänge (PCROP, RDP, WRP)
- CRC-Berechnungseinheit
- Einzigartiger Geräte-Identifikator (64-Bit-UID-konform mit IEEE 802-2001 Standard)
- Einzigartiger 96-Bit-Chip-Identifikator
- Hardware-Public-Key-Beschleuniger (PKA)
- Versorgungs- und Reset-Management
- Embedded-SNT-Abwärtswandler mit hohem Wirkungsgrad
- SNT-zu-LDO-Smart-Schalter
- Äußerst sicheres BOR (Brownout-Reset) mit 5 wählbaren Schwellwerten und geringem Stromverbrauch
- POR/PDR mit äußerst geringem Stromverbrauch
- Programmierbarer Spannungsdetektor (PVD)
- VBAT Modus mit RTC und 20x32 Byte Backup-Register
- Taktquellen
- 32-MHz-Quarzoszillator
- Programmierbare Versorgungsspannungs-TCXO-Unterstützung
- 32-kHz-Oszillator für RTC mit Kalibrierung
- Interner werkseitig getrimmter Hochgeschwindigkeits-RC von 16 MHz (±1 %)
- Interner stromsparender 32-kHz-RC
- Interner stromsparender Multigeschwindigkeits-RC von 100 kHz bis 48 MHz
- PLL für CPU, ADC und Audio-Taktgeber
- Speicher
- Bis zu 256 Kbyte Flash-Speicher
- Bis zu 64 Kbyte RAM
- 20x32-Bit-Sicherungsregister
- Bootloader unterstützt USART- und SPI-Schnittstellen
- OTA(Over-the-Air)-Firmware-Aktualisierungsfähigkeit
- Sektorschutz gegen Lese-/Schreibvorgänge
- Umfassende analoge Peripherie (bis hinunter zu 1,62 V)
- 12-Bit-ADC mit 2,5 MS/s, bis zu 16 Bit mit Hardware-Überabtastung, Umwandlungsbereich von bis zu 3,6 V
- 12-Bit-DAC, Abtasten und Halten bei geringem Stromverbrauch
- 2 x Komparatoren für extrem niedrigen Stromverbrauch
- System-Peripherie
- Semaphores für Prozesssynchronisierung der Prozessor-Firmware
- Steuerungen
- 2x DMA-Controller (jeweils7 Kanäle) unterstützen ADC, DAC, SPI, I2C, LPUART, USART, AES und Timer
- 2 x USART (ISO 7816, IrDA, SPI)
- 1 x LPUART (geringer Stromverbrauch)
- 16 x SPI 1 MBit/s (2 über 2 unterstützt I2S)
- 3x I2C (SMBus/PmBus™)
- 2 x 16-Bit Einkanal-Timer
- 1 x 16-Bit-Vierkanal-Timer (unterstützt Motorsteuerung)
- 1 x 32-Bit-Vierkanal-Timer
- 3 x 16-Bit-Timer mit extrem geringem Stromverbrauch
- 1 x RTC mit 32-Bit-Sub-Sekunden-Aktivierungszähler
- 1 x unabhängiger SysTick
- 1 x eigenständiger Watchdog
- 1 x Fenster-Watchdog
- Bis zu 43 I/Os, die meisten sind 5-V-tolerant
- Entwicklungsunterstützung
- Serial Wire Debug (SWD), JTAG für Applikationsprozessor
- Alle Gehäuse sind ECOPACK2-konform
Inhalts-Stream
Videos
STM32WL MCU-Baureihe
Funktionsdiagramm
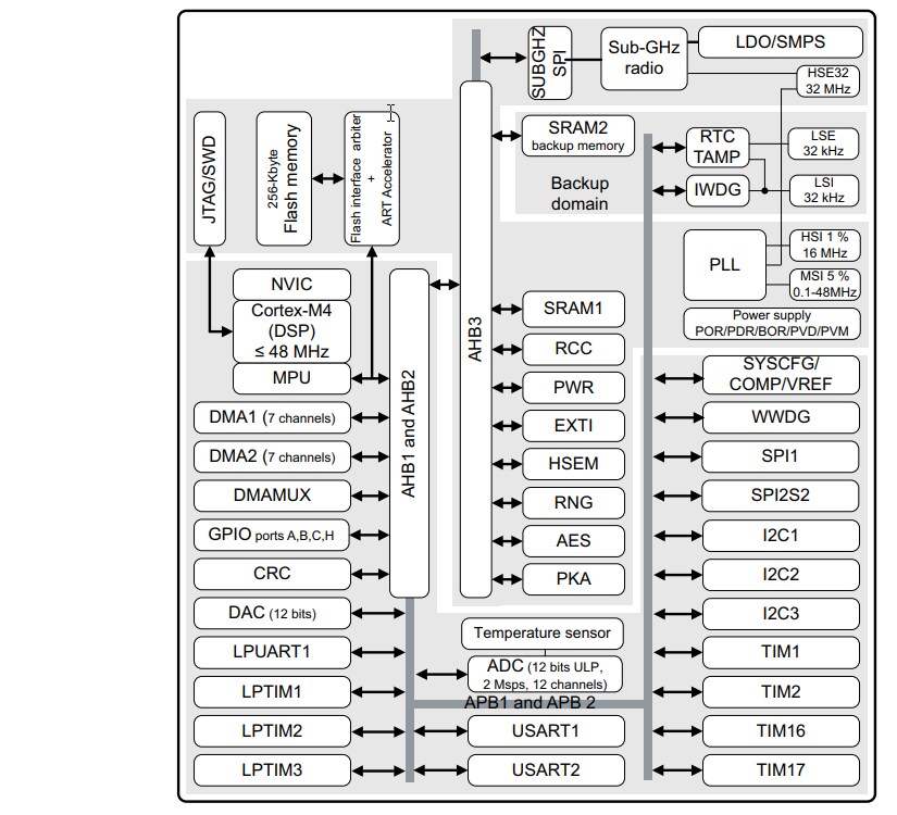
Blockdiagramm
Veröffentlichungsdatum: 2020-11-18
| Aktualisiert: 2025-01-13
