STMicroelectronics STM32WBA5 Multiprotokoll-Funk-MCUs

STM32WBA5 Multiprotokoll-Funk-MCUs von STMicroelectronics sind für das BLUETOOTH® Low Energy 5.4-Protokoll zertifiziert und ermöglichen es auch Entwicklern ohne Expertenkenntnisse, Bauteile einfach und kostengünstig mit drahtloser Kommunikation auszustatten. Basierend auf dem Arm® Cortex®-M33 Core mit TrustZone®-Technologie, bietet die STM32WBA Baureihe ein hohes Maß an Sicherheit, schützt Daten und IPs und verhindert Hacks oder Geräteklonen. Der STM32WBA Funk-MCU integriert 1 MByte Flash-Speicher und 128 KByte RAM, die in QFN48- und QFN32-Gehäusen untergebracht sind. Die STM32WBA-Bauelemente nutzen die STM32U5-Architektur und bieten eine Plattform mit extrem niedrigem Stromverbrauch sowie übernommene digitale/analoge Peripherien, die für viele Applikationen geeignet sind, von der Industrie über Smart Home bis hin zu Verbrauchern.

Merkmale

  • Enthält die neueste patentierte Technologie von ST
  • Extrem stromsparender Funk
    • 2,4 GHz
    • HF-Transceiver unterstützt BLUETOOTH 5.3-Spezifikation
    • Proprietäre Protokolle
    • -96 dBm RX-Empfindlichkeit (Bluetooth Low Energy bei 1 Mbps)
    • Programmierbare Ausgangsleistung mit bis zu +10 dBm mit 1 dB-Schritten
    • Integrierter Balun zur Reduzierung der BOM
    • Unterstützung für 1 Mbps
    • Geeignet für Systeme, die die Einhaltung der Funkfrequenzvorschriften ETSI EN 300 328, EN 300 440, FCC CFR47 Teil 15 und ARIB STD-T66 erfordern.
  • Plattform mit äußerst geringem Stromverbrauch
    • Stromversorgung: 1,71 V bis 3,6 V
    • -40 °C bis +85 °C Temperaturbereich
    • Autonome Peripherie mit DMA, bis zu Stopp-1-Modus funktionsfähig.
    • 140 nA Standby-Modus (16x Wakeup-Pins)
    • 200 nA Standby-Modus mit RTC
    • 2,4 µA Standby-Modus mit 64 KB SRAM
    • 16,3 µA Stopp-Modus mit 64 KB SRAM
    • 45 µA/MHz Betriebsmodus bei 3,3 V
    • Funk: Rx 7,4 mA / Tx bei 0 dBm 10,6 mA
  • Arm® Cortex® -M33 32-bit-CPU mit TrustMode®, MPU, DSP und FPU
  • ART Accelerator™ mit 8 Kbyte Befehls-Cache ermöglicht eine Ausführung mit 0-Wait-Status vom Flash-Speicher (Frequenz bis zu 100 MHz, 150 DMIPS).
  • Leistungsmanagement mit eingebettetem LDO-Regler zur Unterstützung der Spannungsskalierung.
  • Benchmarks
    • 1,5 DMIPS/MHz (Dhrystone 2.1)
    • 407 CoreMark® (4,07 CoreMark/MHz)
  • Taktgeber
    • 32 MHz Quarzoszillator
    • 32 kHz Quarzoszillator (LSE)
    • Interner, stromsparender 32 kHz (±5 %) RC
    • Interner, werksseitig getrimmter 16 MHz-RC (±1 %)
    • PLL für Systemtakt und ADC
  • Speicher
    • 1 MB Flash-Speicher mit ECC, einschließlich 256 Kbyte mit 100x Zyklen
    • 128 KB SRAM, einschließlich 64 KB mit Paritätsprüfung
    • 512 Byte (32x Reihen) OTP
  • Umfassende analoge Peripherien (unabhängige Versorgung), 12-bit-ADC 2,5 Msps mit Hardware-Überabtastung
  • Kommunikationsperipherien
    • 3x UARTs (ISO 7816, IrDA, Modem)
    • 2x SPIs
    • 2x I2C Fm+ (1 MBit/s), SMBus/PmBus®
  • Systemperipherien
    • Berührungssensor-Controller, bis zu 20x Sensoren, unterstützt Berührungstasten-, Linear- und Dreh-Berührungssensoren
    • 1x erweiterter 16-bit-Motorsteuerungs-Timer
    • 3x 16-bit-Timer
    • 1x 32-bit-Timer
    • 2x stromsparende 16-bit-Timer (im Stopp-Modus verfügbar)
    • 2x Systick-Timer
    • 2x Watchdogs
    • 8-Kanal-DMA-Controller, der im Stopp-Modus funktionsfähig ist
  • Sicherheit und Kryptografie
    • Arm® TrustZone® und sichere I/Os, Speicher und Peripherien
    • Flexibles Lebenszyklus-Schema mit RDP und passwortgeschütztem Debugging
    • Root-of-trust dank einzigartigem Booteintrag und sicherer Ausblendungsschutz-Bereich (HDP)
    • SFI (sichere Firmware-Installation) dank eingebettetem RSS (Root Secure Services)
    • Sichere Datenspeicherung mit einzigartigem Root-Hardware-Schlüssel (RHUK)
    • Unterstützt ein sicheres Firmware-Upgrade mit TF-M
    • 2x AES-Coprozessoren, einschließlich 1x mit DPA-Widerstand
    • Public-Key-Beschleuniger, DPA-beständig
    • HASH-Hardware-Beschleuniger
    • Echter Zufallsnummerngenerator, konform mit NIST SP800-90B
    • Eindeutige 96-Bit-ID
    • Aktive Manipulationsschutz
    • CRC-Berechnungseinheit
  • Bis zu 35x I/Os (mehrheitlich mit 5 V-Toleranz) mit Unterbrechungsfunktion
  • Serial Wire Debug (SWD) und JTAG Entwicklungsunterstützung
  • STM32WBA54/55
    • Multiprotokoll-Flexibilität (BLE 5.4-zertifiziert, einschließlich Audio, Zigbee, OpenThread/Matter, BLE 802.15.4)
    • SESIP Stufe 3 Zulassung

Applikationen

  • Elektrowerkzeuge
  • Wellness
  • Fitness
  • Medizin und Gesundheitswesen
  • Heimautomatisierung
  • Industrieapplikationen
  • Smart Homes

Videos

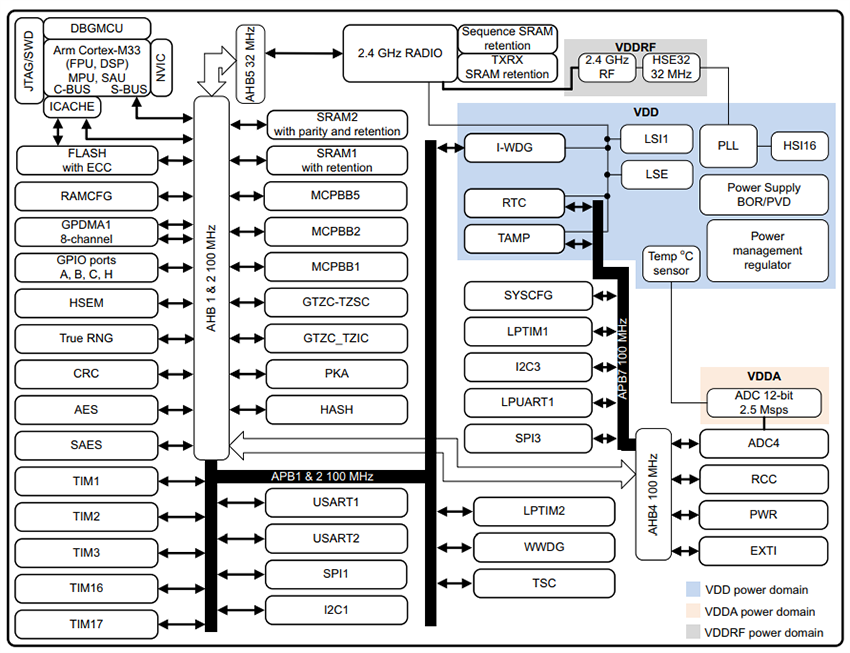
Blockdiagramm

Blockdiagramm - STMicroelectronics STM32WBA5 Multiprotokoll-Funk-MCUs

Infografik

STMicroelectronics STM32WBA5 Multiprotokoll-Funk-MCUs

Inhalts-Stream

STMicroelectronics STM32WBA5 Multiprotokoll-Funk-MCUs
Veröffentlichungsdatum: 2023-02-23 | Aktualisiert: 2026-02-17