Texas Instruments ADC34J4x 14-Bit Analog-Digital-Wandler (ADC)
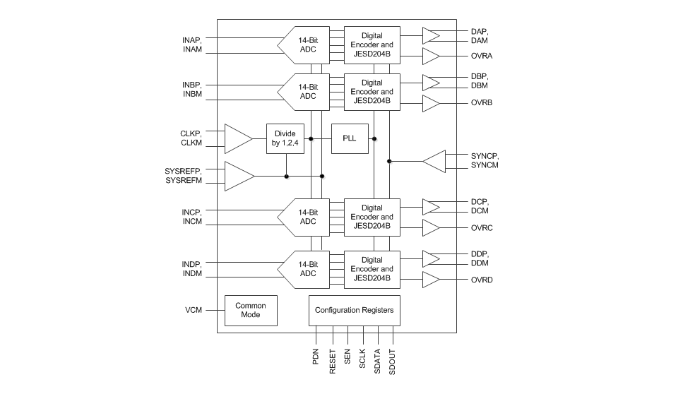
Der ADC34J4x 14-Bit Analog-Digital-Wandler (ADC) von Texas Instruments ist ein hoch linearer, Quad-Kanal-14-Bit, 50-MSPS auf 160-MSPS Analog-Digital-Wandler (ADC) mit extrem geringem Energieverbrauch. Diese Geräte sind speziell entwickelt, um anspruchsvolle, hohe Eingangsfrequenzsignale mit großen Bereichsanforderungen zu unterstützen. Ein Takteingangsteiler ermöglicht höhere Flexibilität für ein Systemtakt-Architekturdesign während der SYSREF-Eingang eine komplette Systemsynchronisierung ermöglicht. Die ADC34J4x-Produktfamilie unterstützt die Strommodus-Logik (CML) sowie JESD204B-Schnittstellen, um die Anzahl der Schnittstellenleitungen zu senken und somit eine höhere Systemintegrationsdichte zu ermöglichen. Die JESD204B-Schnittstelle ist eine serielle Schnittstelle, an der die Daten eines jeden ADC serialisiert und über nur ein differentielles Paar ausgegeben werden. Eine interne phasengesperrte Schleife (PLL) multipliziert den hereinkommenden ADC-Abtasttakt mit 20, um den Bit-Takt abzuleiten, der verwendet wird, um die 14-Bit-Daten von jedem Kanal zu serialisieren. Die ADC34J4x-Geräte unterstützen die Subklasse 1 mit Schnittstellengeschwindigkeiten von bis zu 3,2 Gbps.The Texas Instruments ADC34J4x family supports serial current-mode logic (CML) and JESD204B interfaces in order to reduce the number of interface lines, thus allowing high system integration density. The JESD204B interface is a serial interface, where the data of each ADC is serialized and output over only one differential pair. An internal phase-locked loop (PLL) multiplies the incoming ADC sampling clock by 20 to derive the bit clock that is used to serialize the 14-bit data from each channel. The ADC34J4x devices support subclass 1 with interface speeds up to 3.2Gbps.
Merkmale
- Quad channel
- 14-Bit resolution
- Single 1.8V supply
- Flexible input clock buffer with divide-by-1, -2, -4
- SNR = 72dBFS, SFDR = 86dBc at fIN = 70MHz
- Ultra-low power consumption
- 203mW/Ch at 160MSPS
- 105dB channel isolation
- Internal dither
- JESD204B serial interface
- Supports subclass 0, 1, 2
- Supports one lane per ADC up to 160MSPS
- Support for multi-chip synchronization
- Pin-to-pin compatible with 12-bit version
- VQFN-48 (7mm × 7mm) package
Applikationen
- Multi-carrier, multi-mode cellular base stations
- Radar and smart antenna arrays
- Munitions guidance
- Motor control feedback
- Network and vector analyzers
- Communications test equipment
- Nondestructive testing
- Microwave receivers
- Software-Defined Radios (SDRs)
- Quadrature and diversity radio receivers
Videos
Block Diagram
Veröffentlichungsdatum: 2014-11-04
| Aktualisiert: 2025-06-23
