Texas Instruments ADS85xxS Simultan abtastende ADCs
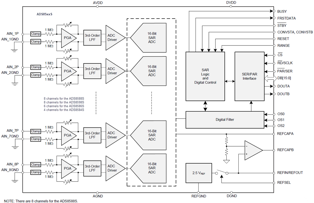
Texas Instruments ADS85xxS simultan abtastenden ADCs sind integrierte Datenerfassungssysteme (DAQ), die auf einem 16-Bit-Analog-Digital-Wandler (ADC) mit sukzessiver Approximation (SAR) basieren. Alle Eingangskanäle werden simultan abgetastet, um einen maximalen Durchsatz von 200 kSPS pro Kanal zu erreichen. Das Gerät verfügt über ein komplettes Analog-Frontend für jeden Kanal, darunter einen programmierbaren Gain-Verstärker (PGA) mit einer hohen Eingangsimpedanz von 1 MΩ. Eine Eingangsklemme, ein Tiefpassfilter und ein ADC-Eingangstreiber sind ebenfalls enthalten. Jedes dieser Bauteile verfügt außerdem über eine Präzisionsreferenz mit geringer Drift und einem Buffer zum Antrieb des ADC. Eine flexible Digitalschnittstelle unterstützt die serielle, parallele und Parallel-Byte-Kommunikation. Dies ermöglicht den Einsatz der Bauteile mit verschiedenen Host-Controller.Merkmale
- 16-Bit-ADCs mit integriertem Analog-Frontend
- Simultane Abtastung: 8, 6 und 4 Kanäle
- Kontakt-programmierbare, bipolare Eingänge: ±10 V und ±5 V
- Hohe Eingangsimpedanz: 1 MΩ
- 5 V Analogversorgung: 2,3 V bis 5 V I/O-Versorgung
- Überspannungs-Eingangsklemme mit 7 kV elektronischer Entladung
- On-Chip-Referenz (2,5 V) mit geringer Drift und Buffer
- Ausgezeichnete Leistungsfähigkeit
- Durchsatz von 200 kSPS (max.) auf allen Kanälen
- DNL: ±0,35 LSB; INL: ±0,45 LSB
- SNR: 96,4 dB; THD: -114 dB
- Übertemperatur-Leistungsfähigkeit
- Max. Offset-Drift: 3 ppm/°C
- Gain-Drift: 6 ppm/°C
- On-Chip-Digitalfilter für Überabtastung
- Flexible parallele Schnittstelle, Byte- und serielle Schnittstelle
- Temperaturbereich: -40 °C bis +125 °C
- Gehäuse: LQFP-64
Applikationen
- Überwachung und Steuerung für Stromnetze
- Schutz-Relais
- Multi-Phasen-Motorsteuerung
- Industrieautomatisierung und Steuerungen
- Mehrkanal-Datenerfassungssysteme
Vereinfachtes Blockdiagramm
Veröffentlichungsdatum: 2017-02-08
| Aktualisiert: 2022-03-24
