Texas Instruments AFE4462 Extra kleines, integriertes AFE
Das Texas Instruments AFE4462 extrem kleine integrierte Analog-Frontend (AFE) ist ein AFE für optische Biosensorapplikationen, wie z. B. Sättigung des peripheren kapillaren Sauerstoffs (SpO2) und der Herzfrequenzüberwachung (HRM). Das Bauteil unterstützt bis zu vier Fotodioden (PDs) und bis zu 16 schaltbare Leuchtdioden (LEDs). Das AFE verfügt über zwei LED-Treiber mit jeweils einer 8-Bit-Stromsteuerung. Das AFE4462 von Texas Instruments verfügt über eine Sende- und Empfangsschaltung mit hohem Dynamikbereich, die sehr kleine Signalpegel erfassen. Es können bis zu 16 Signalphasensätze definiert werden, wobei jeder Phasensatz aus einer Kombination von Umgebungsphasen und LED besteht. Rauscharme Offset-DACs an den Empfängereingängen können automatisch gesteuert werden, um DC von LED und Umgebungslicht zu unterbrechen. Der Strom von jedem der vier PDs in jeder Phase wird durch TIAs in Spannung umgewandelt, gefiltert und dann mit einem gemeinsamen ADC digitalisiert. Der ADC-Code kann in einem 256-Sample-FIFO-Block gespeichert werden. Das FIFO kann über eine SPI- oder I2C-Schnittstelle ausgelesen werden.Merkmale
- Unterstützt Signalerfassung von bis zu 16 Phasen-Sätzen
- Unterstützt bis zu 16 LEDs, 4 PDs
- Flexible Zuordnung von LEDs und PDs in jeder Phase
- Gleichzeitige Signalerfassung von verschiedenen Sensoren bei unterschiedlichen Datenraten
- Genaue, kontinuierliche PPG-Überwachung
- Niedriger Strom für eine konstante Herzfrequenzüberwachung auf einem Wearable mit einem typischen Wert von 15 µA für eine LED und 15 µA für den Empfänger
- Spitzensystem-SNR von 115 dB
- Empfänger
- Unterstützt vier Zeitmultiplex-PD-Eingänge
- Zwei parallelgeschaltete Empfänger (vier Sätze TIA/Filter)
- Individueller DAC für Umgebungs-Offset-Subtraktion an jedem TIA-Eingang mit 8-Bit-Steuerung pro Phase und einstellbarem Bereich bis zu 255 µA
- Individueller DAC zur LED-Offset-Subtraktion an allen TIA-Eingängen mit 9-Bit-Steuerung je Phasenregelung und Bereich von 64 µA
- Digitale Subtraktion der Umgebungsbedingungen am ADC-Ausgang
- Rauschfilterung mit programmierbarer Bandbreite
- Transimpedanz-Gain: 3,7 kΩ bis 1 MΩ
- Sender
- Programmierbarer 8-Bit-LED-Strom mit einstellbarem Bereich von 25 mA bis 250 mA
- Modus zur Parallelschaltung von zwei LEDs mit unabhängiger Stromregelung je Außenleiter
- Programmierbare LED-Einschaltzeit pro Phase
- Gleichzeitige Unterstützung von 16 LEDs für SpO2, HRM mit mehreren Wellenlängen und Spektroskopie
- Unterstützt externen Taktgeber oder internen Oszillator
- Option zum Erfassen von Daten, die mit einem System-Taktgeber synchronisiert sind
- Automatische Löschung von DC von Umgebung, LED
- FIFO mit einer 256-Bittiefe
- SPI™-Schnittstelle/I2C-Schnittstelle
- 2,6 mm × 2,6 mm DSBGA, 0,4 mm Rastermaß
- Zubehör
- Rx: 1,7 V bis 1,9 V (LDO-Bypass); 1,9 V bis 3,6 V (LDO-aktiviert)
- Tx: 3 V bis 5,5 V, IO: 1.7RX_SUP
Applikationen
- Optische Herzfrequenzüberwachung (HRM) für Wearables, Hearables
- Herzfrequenzvariabilität (HRV)
- Pulsoximetrie-Messungen (SpO2)
- Optische Spektroskopie
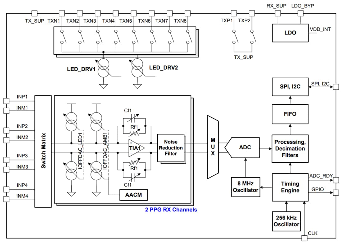
Blockdiagramm
Veröffentlichungsdatum: 2025-02-25
| Aktualisiert: 2025-03-11
