Texas Instruments AMC131M01 Isolierter 24-Bit-Delta-Sigma-ADC
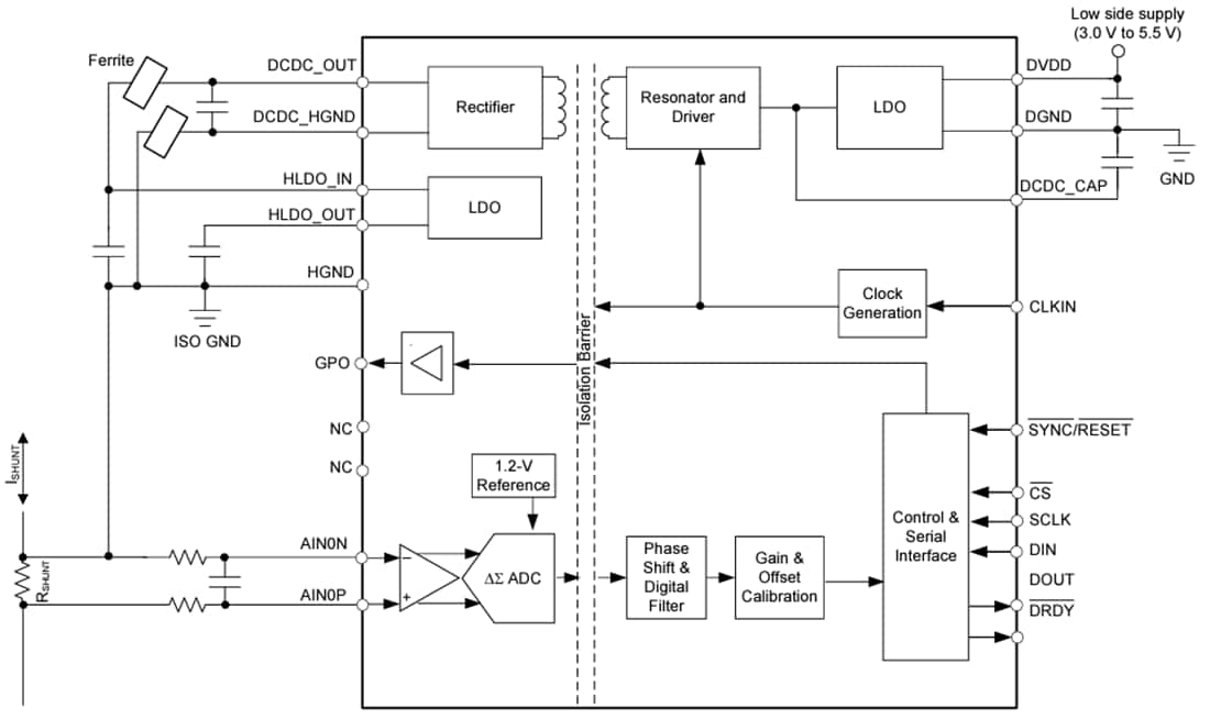
Der isolierte 24-Bit-Delta-Sigma-Analog-Digital-Wandler (ADC) der Baureihe AMC131M01 von Texas Instruments ist ein präziser Einkanal-24-Bit-Delta-Sigma-ADC (Δ,Σ) mit Daten- und Leistungsisolierung. Der AMC131M01 bietet einen großen Dynamikbereich von energiemessspezifischen und stromsparenden Funktionen für Leistungsmetrologie- und Energiemessapplikationen. Die ADC-Eingänge können aufgrund der hohen Eingangsimpedanz des Bauelements direkt mit einem Shunt-Stromsensor oder einem Widerstandsteiler-Netzwerk verbunden werden.Der AMC131M01 von Texas Instruments verfügt über einen vollständig integrierten und isolierten DC/DC-Wandler, der einen Einzelversorgungsbetrieb von der Low-Side des Bauelements ermöglicht. Die verstärkte kapazitive Isolationsbarriere ist gemäß UL1577 und VDE 0884-17 zertifiziert. Diese Isolationsbarriere trennt Teile des Systems, um Niederspannungsteile vor Schäden zu schützen. Das Bauteil wird auf verschiedenen Gleichtaktspannungspegeln betrieben, wodurch der AMC131M01 eine ausgezeichnete Wahl für mehrphasige Energiemessapplikationen mit Shunt-Stromsensoren ist.
Merkmale
- Isolierte Δ-Σ-ADCs mit differentiellem Eingang
- Einzelversorgungsbetrieb (3,3 V oder 5 V) mit integriertem DC/DC-Wandler
- Niedrige EMI, welche die Standards CISPR-11 und CISPR-25 erfüllt
- Programmierbare Datenrate bis zu 64 kSPS
- Programmierbare Verstärkung bis zu 128
- Interne Spannungsreferenz mit geringer Abweichung:
- 4-drähtige SPI-Schnittstelle mit zyklischer Redundanzprüfung (CRC)
- Sicherheitsbezogene Zulassungen
- 7070 V verstärktePEAK -Isolierung nach DIN EN IEC 60747-17 (VDE 0884-17
- 5000 VRMS -Isolierung für 1 Minute gemäß UL1577
- 20-poliges Wide-Body-SOIC-Gehäuse
- -40°C bis +125°C Betriebstemperaturbereich
Applikationen
- Stromzähler (Gewerbegebäude und Wohnhäuser)
- Leistungsschalter
- EV-Ladestationen
- Batteriemanagementsysteme
Funktionales Blockdiagramm
Veröffentlichungsdatum: 2023-12-15
| Aktualisiert: 2024-01-03
