Texas Instruments AWRL1432 mmWave-Radarsensor
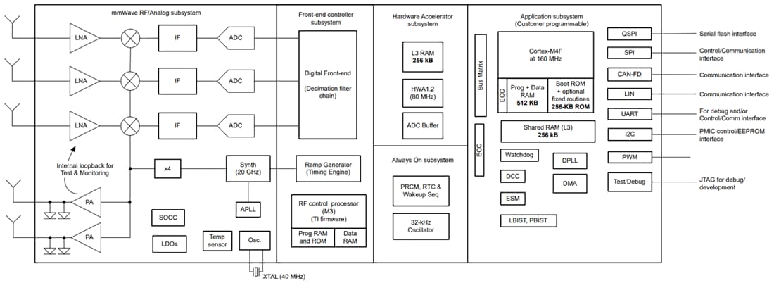
Der AWRL1432 mmWave Radarsensor von Texas Instruments ist ein integrierter mmWave-Einzelchip-Sensor, der auf der FMCW-Radartechnologie basiert. Das Bauteil kann im 76-GHz- bis 81-GHz-Band betrieben werden und ist in vier Leistungsbereiche unterteilt: HF-/Analog-Subsystem, Frontend-Controller-Subsystem (FECSS), Applikations-Subsystem (APPSS) und Hardware-Beschleuniger (HWA). Der AWRL1432 verfügt über separate Steuerungen für jeden Leistungsbereich zur Steuerung des Gerätezustands (Ein- oder Ausschalten) basierend auf den Anwendungsfallanforderungen. Er kann verschiedene Stromsparmodi wie Tiefschlaf und Ruhezustand einnehmen, wobei der Stromsparmodus durch Takt-Gating und Abschalten der internen IP-Blöcke des Bauelements erreicht wird. In solchen Szenarien behält das Bauteil einige seiner Inhalte wie z. B. das Applikationsbild oder das HF-Profil.Darüber hinaus ist das Bauteil mit dem stromsparenden 45-nm-HF-CMOS-Prozess von TI in einer extrem kleinen Baugröße ausgelegt und ermöglicht ein beispielloses Maß an Integration. AWRL1432 wurde für stromsparende, selbstüberwachende, ultrapräzise Radarsysteme im Automobilbereich für Applikationen wie Kick-to-Open, Einparkhilfe, Totwinkel-Erkennung und Erkennung von Türhindernissen entwickelt.
Merkmale
- FMCW-Transceiver
- PLL, Sender, Empfänger, Basisband und ADC integriert
- 76 GHz bis 81 GHz Abdeckung mit 5 GHz kontinuierlicher Bandbreite
- Drei Empfangskanäle und zwei Sendekanäle
- Kurze Reichweite
- 11 dBm typische Ausgangsleistung pro Tx
- 14 dB typischer Rauschfaktor
- -89 dBc/Hz typisches Phasenrauschen bei 1 MHz
- FMCW-Betrieb
- 5 MHz ZF-Bandbreite, nur echte Rx-Kanäle
- Ultra-genaue Chirp-Engine auf Basis einer Fraktional-N-PLL
- Binärer Phasenschieber pro Sender
- Verarbeitungselemente
- Arm®-M4F®-Core mit Einzel-Präzisions-FPU (160 MHz)
- TI Radar Hardware Accelerator (HWA 1.2) für FFT, Log Magnitude und CFAR-Betriebsabläufe (80 MHz)
- Unterstützt mehrere Stromsparmodi
- Leerlaufmodus und Tiefschlafmodus
- Leistungsmanagement
- 1,8 V und 3,3 V IO-Unterstützung
- Eingebautes LDO-Netzwerk für verbesserte PSRR
- BOM-optimierte und energieoptimierte Modi
- Eine oder zwei Stromschienen für 1,8 V IO-Modus, zwei oder drei Stromschienen für 3,3 V IO-Modus
- 6,45 mm x 6,45 mm Gehäusegröße des FCCSP-Bauelelements
- Integrierte Kalibrierung und Selbsttest
- Integrierte Firmware (ROM)
- Eigenständiges On-Chip-Kalibrierungssystem
- Host-Schnittstelle
- UART
- CAN-FD
- SPI
- LIN
- RDIF (Radar Data Interface) für die Erfassung von ADC-Rohdaten
- Andere für die Benutzeranwendung verfügbare Schnittstellen
- QSPI
- I2C
- JTAG
- GPIOs
- PWM-Schnittstelle
- Interner Speicher
- 1 MB On-Chip-RAM
- Konfigurierbarer gemeinsamer L3-Speicher für Radar-Würfel
- Daten- und Code-RAM von (512/640/768 KB)
- Für die Einhaltung der funktionalen Sicherheitsanforderungen ausgelegt
- Entwickelt für funktionale Sicherheitsapplikationen
- Hardware-Integrität bis zu ASIL B angestrebt
- FCCSP-Gehäuse mit 12 x 12, 102 BGA-Bälle
- AECQ-100-qualifiziert
- Taktquelle
- 40,0 MHz Quarz für den primären Taktgeber
- Unterstützt extern angetriebenen Takt (quadratisch/sinusförmig) bei 40,0 MHz
- 32 kHz interner Oszillator für stromsparenden Betrieb
- Unterstützt den Betriebstemperaturbereich
- -40 °C bis 125 °C Sperrschicht-Betriebstemperaturbereich
Applikationen
- Kick to open (Kofferraum)
- Automatisiertes Parken
- Autotüröffner
- Querverkehr-Assistent (vorne)
- Totwinkel-Erkennung
- Spurwechselassistent
Funktionales Blockdiagramm
Weitere Ressourcen
- xWRLx432 Bootloader-Fluss und Warmreset-Empfehlungen
- Kalibrierungen in Low-Power-mmWave-Radarsensoren von TI
- Wie 77 GHz mmWave-Radarsensoren die Herausforderungen von Kick-to-Open-Systemen meistern
- Warum Low-Power-mmWave-Radar besser ist als Ultraschall in Parkassistenz-Applikationen
- Integration von 77-GHz-Radarsensoren in Fahrzeuganwendungen und Industrieapplikationen
- Erweiterte Fahrerassistenzsysteme (FAS): Autonomie vorantreiben
Veröffentlichungsdatum: 2024-08-20
| Aktualisiert: 2025-05-15
