Texas Instruments bq76907/bq76907-Q1 Stromsparende Überwachungs- und Schutzvorrichtung
Die Texas Instruments bq76907/bq76907-Q1 stromsparende Überwachungs- und Schutzvorrichtung bietet eine hochintegrierte Batterieüberwachung und Schutzvorrichtung mit hoher Genauigkeit für zwei- und siebenzellige Li-Ionen-, Li-Polymer-, LiFePO4 (LFP)- und LTO-Akkus. Das Bauteil enthält ein Überwachungssystem mit hoher Genauigkeit und einem dedizierten Coulomb-Zähler und eine akkumulierte Ladungsintegration, ein hochkonfigurierbares Schutz-Subsystem und Unterstützung für den Host-gesteuerten Zellenausgleich. Die Integration umfasst NFET-Treiber mit Low-Side-Schutz, einen programmierbaren LDO für die externe Systemverwendung und eine I2C-Host-Kommunikationsschnittstelle, die einen Betrieb von bis zu 400 kHz mit optionalem CRC unterstützt. Der bq76907/bq76907-Q1 von Texas Instruments ist in einem 20-Pin-QFN-Gehäuse verfügbar. Die bq76907-Q1 Bauteile sind gemäß AEC-Q100 für Fahrzeuganwendungen zugelassen.Merkmale
- Batterieüberwachungsfunktion für Zellen der Serien 2 bis 7
- Integrierte Low-Side-Treiber für NFET-Schutz mit optionaler autonomer Wiederherstellung
- Das umfangreiche Schutzpaket umfasst Spannung, Temperatur, Strom und interne Diagnose
- 16-Bit-Delta-Sigma-Spannungs-ADC
- Hochpräzise Zellspannungsmessung von 4 mV (typisch)
- Spezieller 16- oder 24-Bit-Delta-Sigma-Coulomb-Zähler-ADC
- Hochpräzise Strommessung mit geringem Eingangs-Offsetfehler
- Anwendungen mit weitläufigen Strombereichen (±200 mV Messbereich über den Messwiderstand)
- 48-Bit-Integrator für akkumulierte Ladungen mit Timer
- Mehrere Leistungsmodi (typische Betriebsbereichsbedingungen des Akkupacks)
- NORMAL-Modus: 32 µA bis 175 µA
- SLEEP-Modus: 6 µA
- DEEPSLEEP-Modus: 2,7 µA
- SHUTDOWN-Modus: < 1 µA
- Hostgesteuerter Zellausgleich
- Hochspannungstoleranz von 45 V beim Zellenanschluss und Auswahl zusätzlicher Pins
- Unterstützung für die Temperaturmessung mithilfe eines internen Sensors und eines externen Thermistors
- Integrierter, einmalig programmierbarer (OTP) Speicher für Geräteeinstellungen, programmiert von TI
- Serielle I2C-Kommunikation mit optionaler CRC-Unterstützung von 400 kHz
- Programmierbarer LDO für externe Systemnutzung
- 20-poliges QFN-Gehäuse (RGR).
Applikationen
- Kabellose Elektrowerkzeuge und Gartengeräte
- Staubsauger
- Nicht-militärische Drohnen
- Andere Industrie-Akkus (2- und 7-zellig)
Datenblätter
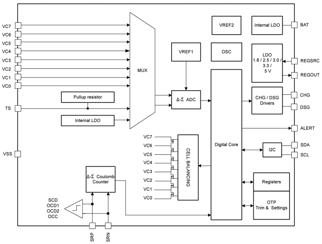
Funktionales Blockdiagramm
Veröffentlichungsdatum: 2024-02-06
| Aktualisiert: 2025-04-25
