Texas Instruments CC3235x SimpleLink™-Wi-Fi®-MCU-Lösung
Die Texas Instruments CC3235x SimpleLink™-Wi-Fi®-Dualband-Einzelchip-MCU-Wireless-Lösung integriert zwei Prozessoren in einem Einzelchip und ist in zwei Ausführungen, CC3235S und C3235SF, verfügbar. Der CC3235S enthält einen RAM mit 256 KB, IoT-Netzwerk-Sicherheit und Bauteil-Identität/-Schlüssel. Darüber hinaus bietet der CC3235S Sicherheitsfunktionen auf MCU-Ebene, wie z. B. Datei-Systemverschlüsselung, Nutzer-IP-Verschlüsselung (MCU-Bild), sicheres Hochfahren und Debug-Sicherheit. Der CC3235SF basiert auf dem CC3235S und integriert zusätzlich zum 256 KB RAM einen benutzerdedizierten ausführbaren Flash von 1 MB.Die CC3235x SimpleLink™-Baureihe bietet einen Netzwerkprozessor-MCU zum Ausführen aller WLAN- und logischen Internet-Schichten Das ROM-basierte Subsystem entlastet den Host-MCU vollständig und enthält einen 802.11a/b/g/n 2,4-GHz- und 5-GHz-Dualbandfunk, ein Basisband und einen MAC mit einer leistungsstarken Hardware-Kryptographie-Engine. Die CC3235x Bauteile verfügen über neue Funktionen für eine einfachere Konnektivität der IoT-Applikationen. Diese Funktionen umfassen 802.11a-Unterstützung (5 GHz), BLE-/2,4-GHz-Funk-Koexistenz, Antennenauswahl, verbesserte Sicherheit mit FIPS 140-2 Stufe 1 Zertifizierung, bis zu 16 aufeinanderfolgende Sicherheitssockel und eine Zertifikatsregistrierungsanforderung (CSR).
Merkmale
- System-on-Chip (SoC) mit Multi-Core-Architektur
- 802.11 a/b/g/n: 2,4 GHz und 5 GHz
- FIPS 140-2 Stufe 1 zertifiziert
- Mehrschichtige Sicherheitsfunktionen, die Entwickler beim Schutz von Identitäten, Daten und der Software-IP unterstützen
- Stromsparende Modi für batteriebetriebene Applikationen
- Koexistenz mit 2,4-GHz-Funk
- Industrietemperaturbereich: -40 °C bis +85 °C
- Wi-Fi CERTIFIED™ gemäß Wi-Fi Alliance®
- Applikations-Mikrocontroller-Subsystem:
- ARM® Cortex®-M4-Core bei 80 MHz
- Benutzerdedizierter Speicher
- 256 KB RAM
- Optionaler ausführbarer Flash von 1 MB
- Umfassender Satz von Peripherien und Timern
- 27 I/O-Pins mit flexiblen Multiplexing-Optionen
- UART-, I2S-, I2C-, SPI-, SD-, ADC-, 8-Bit-Parallelschnittstelle
- Timer und PWM
- WLAN-Netzwerkprozessor-Subsystem (NWP)
- Wi-Fi®-Core:
- 802.11 a/b/g/n 2,4 GHz und 5 GHz
- Modi:
- Zugangspunkt (AP)
- Station (STA)
- Wi-Fi Direct® (nur bei 2,4 GHz unterstützt)
- Sicherheit:
- WEP
- WPA™-/WPA2™-PSK
- WPA2-Enterprise
- Internet- und Applikationsprotokolle:
- HTTPS-Server, mDNS, DNS-SD, DHCP
- IPv4- und IPv6-TCP/IP-Stapel
- 16 BSD-Sockel (vollständig gesicherte TLS v1.2 und SSL 3.0)
- Eingebautes Leistungsmanagement-Subsystem:
- Konfigurierbare stromsparende Profile (immer, zeitweise, Tag)
- Fortschrittliche stromsparende Modi
- Integrierte DC/DC-Regler
- Wi-Fi®-Core:
- Mehrschichtige Sicherheitsfunktionen:
- Separate Ausführungsumgebungen
- Netzwerksicherheit
- Bauteil-Identität und -Schlüssel
- Kryptografische Hardware-Beschleuniger-Engines (AES, DES, SHA/MD5, CRC)
- Sicherheit auf Applikationsebene (Verschlüsselung, Authentifizierung, Zugriffskontrolle)
- Erste sichere Programmierung
- Software-Manipulationserkennung
- Sicheres Booten
- Zertifikatsregistrierungsanforderung (Certificate Signing Request, CSR)
- Eindeutiges Schlüsselpaar pro Gerät
- Applikationsdurchsatz:
- UDP: 16 MBit/s, TCP: 13 MBit/s
- Spitze: 72 MBit/s
- Leistungsmanagement-Subsystem
- Integrierte DC/DC-Wandler unterstützen eine große Auswahl von Versorgungsspannungen:
- Großer VBAT-Spannungsmodus: 2,1 V bis 3,6 V
- VIO ist immer mit VBAT gebunden
- Fortschrittliche Stromsparmodi
- Abschaltung: 1 µA, Ruhezustand: 4,5 μA
- Stromsparender Tiefschlaf (LPDS): 120 µA
- Leerlauf verbunden (MCU in LPDS): 710 µA
- RX-Verkehr (MCU aktiv): 59 mA
- TX-Verkehr (MCU aktiv): 223 mA
- Integrierte DC/DC-Wandler unterstützen eine große Auswahl von Versorgungsspannungen:
- WLAN-TX-Leistung:
- 2,4 GHz: 18,0 dBm bei 1 DSSS
- 5 GHz: 18,1 dbm bei 6 OFDM
- WLAN-RX-Empfindlichkeit:
- 2,4 GHz: –96 dBm bei 1 DSSS
- 5 GHz: –92 dBm bei 6 OFDM
- Taktquelle:
- Interner 40,0-MHz-Quarzoszillator
- 32,768-kHz-Quarz oder externe RTC
- RGK-Gehäuse
- Sehr dünnes 64-Pin-Quad-Flat-Nonleaded-Gehäuse (VQFN) von 9 mm x 9 mm mit einem Rastermaß von 0,5 mm
- Bauteil unterstützt das SimpleLink™-MCU-Plattform-Entwickler-Ökosystem
Applikationen
- Internet of Things
- Gebäude- und Hausautomatisierung:
- HLK-Systeme und Thermostat
- Videoüberwachung, Video-Türklingeln und stromsparende Kamera
- Gebäude-Sicherheitssysteme und E-Schlösser
- Haushaltsgeräte
- Bestandsverfolgung
- Fabrikautomatisierung
- Medizin und Gesundheitswesen
- Netzinfrastruktur
- Gebäude- und Hausautomatisierung:
Videos
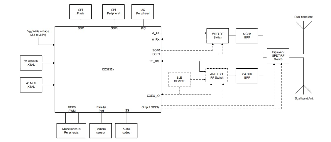
Funktionales Blockdiagramm
Hardware-Übersicht
Veröffentlichungsdatum: 2019-02-19
| Aktualisiert: 2024-05-16
