Texas Instruments DACx750 programmierbare 1-Kanal-Ausgangsstrom-DACs
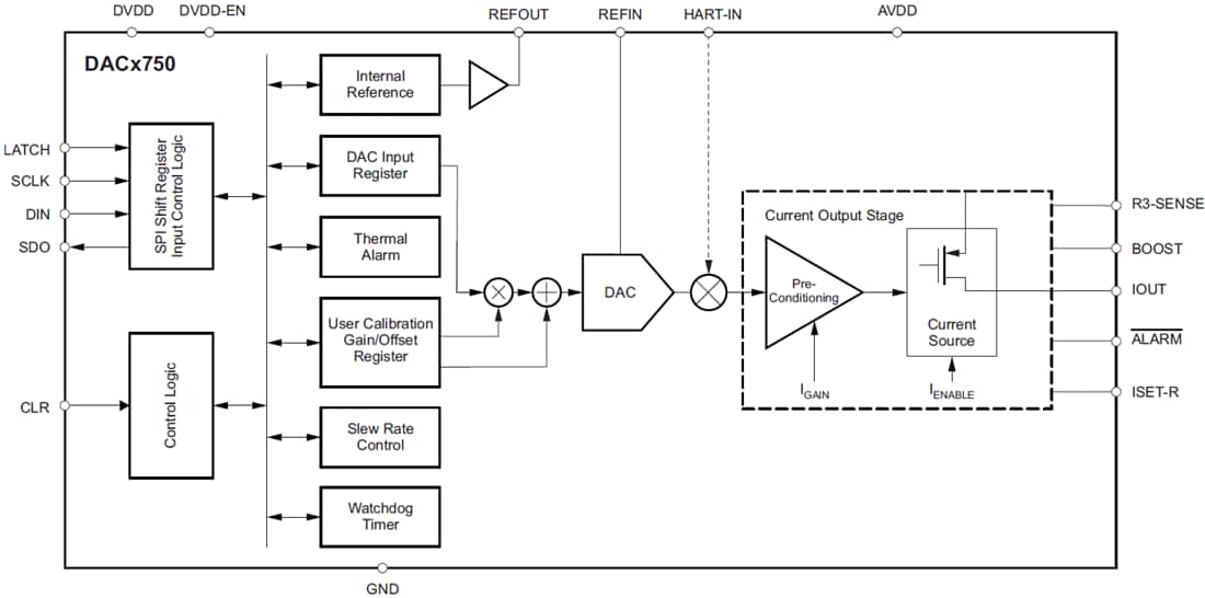
Die programmierbaren 1-Kanal Ausgangsstrom-ADCs DACx750 von Texas Instruments sind kostengünstige, voll integrierte 12-Bit und 16-Bit Präzisions-DA-Wandler (DACs), die für die Anforderungen industrieller Prozesssteuerungsanwendungen konzipiert sind. Diese Geräte können als Stromausgang mit einem Bereich von 4 mA bis 20 mA, 0 mA bis 20 mA oder 0 mA bis 24 mA programmiert werden. Der DACx750 bietet Zuverlässigkeitsmerkmale wie CRC-Fehlerprüfung auf dem SPI™-Frame (Serial Peripheral Interface), einen Watchdog-Timer, einen Leerlauf, Bürdenspannung und einen thermischen Alarm. Zusätzlich kann der Ausgangsstrom durch Zugriff auf einen internen Präzisionswiderstand überwacht werden.Merkmale
- Current output options
- 0mA to 24mA
- 4mA to 20mA
- 0mA to 20mA
- ±0.1% FSR typical Total Unadjusted Error (TUE)
- ±1LSB max DNL
- AVDD - 2V max loop compliance voltage
- Internal 5V reference (10ppm/°C, max)
- Internal 4.6V power-supply output
- CRC frame error check
- Watchdog timer
- Thermal alarm
- Open circuit alarm
- Terminals to monitor output current
- On-chip fault alarm
- User-calibration for offset and gain
- -40°C to +125°C wide temperature range
- 6mm×6mm QFN-40 and TSSOP-24 package
Applikationen
- 4mA to 20mA current loops
- Analog output modules
- Building automation
- Environment monitoring
- Programmable Logic Controllers (PLCs)
- Field sensors and process transmitters
Functional Block Diagram
Veröffentlichungsdatum: 2014-08-18
| Aktualisiert: 2022-03-11
