Texas Instruments DRV10983 Sensorloser Drei-Phasen-BLDC-Motortreiber
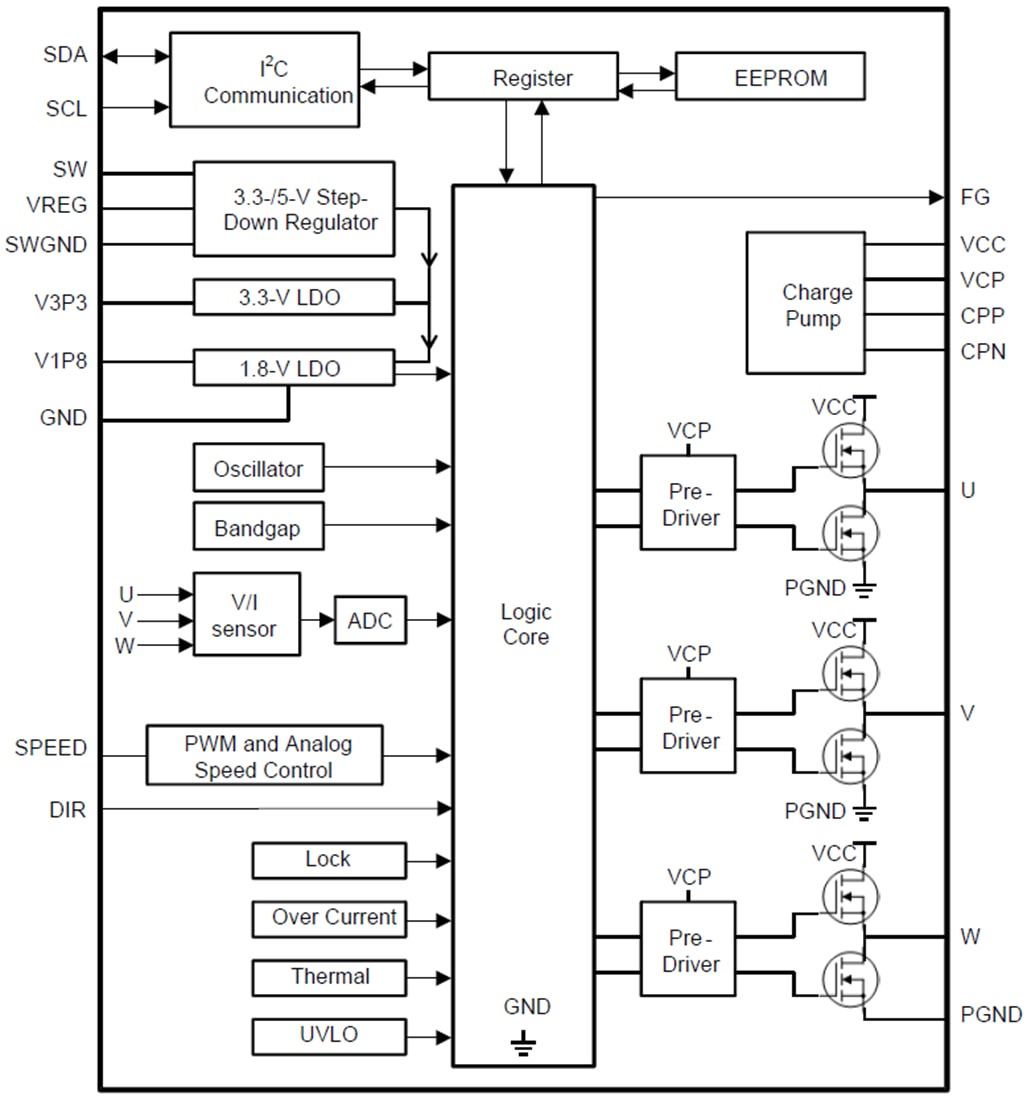
Der sensorlose Drei-Phasen-BLDC-Motortreiber DRV10983 von Texas Instruments ist ein sensorloser Drei-Phasen-Motortreiber mit integrierten Leistungs-MOSFETs, der kontinuierlichen Antriebsstrom bis zu 2A liefern kann. Das Gerät ist speziell für kostenintensive, geräuscharme Anwendungen mit geringer Anzahl an externen Komponenten konzipiert. Der DRV10983 verwendet ein proprietäres sensorloses Steuerungsschema, um einen kontinuierlichen Sinusantrieb bereitzustellen, der die reine Tonakustik deutlich reduziert, die typischerweise infolge der Kommutierung auftritt. Die Schnittstelle zum Gerät ist einfach und flexibel konstruiert. Der Motor kann direkt durch PWM-, analoge oder I2C-Eingänge gesteuert werden. Motordrehzahl-Rückführung ist entweder durch den FG-Pin oder die I2C verfügbar.Merkmale
- Input Voltage Range: 8 to 30V
- Total Driver H + L RDSon: 250mΩ
- Drive Current: 2A Continuous (3A Peak)
- Sensorless Proprietary Back Electromotive Force (BEMF) Control Scheme
- Continuous Sinusoidal 180° Commutation
- No External Sense Resistor Required
- For Flexibility User may Include External Sense Resistor to Monitor Power Delivered to the Motor
- Flexible User Interface Options
- I2C Interface: Access Registers for Command and Feedback
- Dedicated SPEED Pin: Accepts Either Analog or PWM Input
- Dedicated FG Pin: Provides TACH Feedback
- Spin Up Profile can be Customized With EEPROM
- Forward/Reverse Control With DIR Pin
- Integrated Buck/Linear Converter to Efficiently Provide Voltage (5V/3.3V) for Internal and External Circuits
- Supply Current 3.5mA With Standby Version (DRV10983)
- Overcurrent Protection
- Lock Detection
- Voltage Surge Protection
- UVLO Protection
- Thermal Shutdown Protection
- Thermally Enhanced 24-Pin HTSSOP
Applikationen
- Appliance Fan
- HVAC
Datasheets
Functional Block Diagram
TI Reference Designs Library
Veröffentlichungsdatum: 2014-08-19
| Aktualisiert: 2022-03-11
