Texas Instruments DRV10983 Sensorloser Dreiphasen-BLDC-Motortreiber
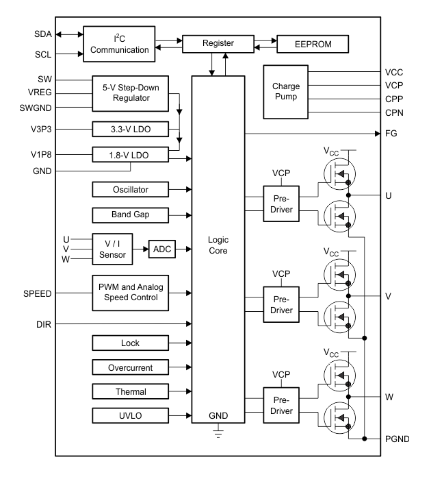
Texas Instruments DRV10987 sensorlose Dreiphasen-BLDC-Motortreiber mit 50 W und 12 V bis 24 V verwenden einen 180°-sinusförmigen Motortreiber mit integrierten Leistungs-MOSFETs und bieten einen kontinuierlichen Antriebsstrom von bis zu 2 A. Das Bauteil wird bei einer Umgebungstemperatur von -40 °C bis 125 °C betrieben und verteilt den Strom zum Motor mit einer niedrigen Versorgungsspannung von 6,2 V. Schutzfunktionen umfassen einen Überstromschutz, wenn die Versorgungsspannung höher als 28 V ist, eine Verriegelungserkennung, die einen Rotor-Verriegelungszustand erkennt und einen Anti-Spannungs-Stoßstromschutz (AVS).Der DRV10987 verwendet ein proprietäres sensorloses Steuerungsschema, um einen kontinuierlichen Sinusantrieb bereitzustellen, der die reine Tonakustik deutlich reduziert, die typischerweise infolge der Kommutierung auftritt. Die einfache und flexible I2C-Schnittstelle bietet ein Motordrehzahl-Feedback gleichzeitig mit dem FG-Pin. Darüber hinaus kann die I2C-Schnittstelle zur Neuprogrammierung von spezifischen Motorparametern in Registern und zur Programmierung von EEPROM verwendet werden, um eine optimierte Leistungsfähigkeit für eine spezifische Applikation zu erzielen. Sowohl interne als auch externe Schaltungen werden vom integrierten Abwärtswandler mit Leistung versorgt, der den DRV10987 auf 5 V senkt. Der DRV10987 ist in einem thermisch effizienten HTSSOP-24-Gehäuse mit freiliegendem Wärme-Pad untergebracht und ist speziell für kostengünstige, rauscharme Lüfter- und Pumpen-Applikationen mit wenigen erforderlichen externen Komponenten ausgelegt.
Merkmale
- Betriebsspannungsbereich:
- Motor-Betrieb, 6,2 V bis 28 V
- Gesamter Treiber-RDS(on) H + L
- 250 mΩ bei TA = 25 °C
- Antriebsstrom: 2 A kontinuierlicher Wicklungsstrom (3 A Spitze)
- Sensorlose sinusförmige 180°-Kommutierung
- Konfigurierbare Ausgangs-PWM-Anstiegsrate und Frequenz für EMI-Management
- Algorithmus für die Erkennung der Ausgangsposition, um einen Rückwärtsdrall während des Einschaltens zu vermeiden
- Kein externer Messwiderstand erforderlich
- Optionen der flexiblen Benutzer-Schnittstelle:
- I2C-Schnittstelle: Zugangsregister für Befehl und Feedback
- Dedizierter SPEED-Kontakt: Akzeptiert entweder einen analogen oder einen PWM-Eingang
- Dedizierter FG-Kontakt: Bietet TACH-Feedback
- Spin-Up-Profil kann an EEPROM angepasst werden
- Vorwärts-/Rückwärts-Steuerung mit DIR-Pin
- Integrierter Abwärtswandler, 5 V, 100 mA
- Integrierter LDO, 3,3 V, 20 mA
- Standby-Strom, 8,5 mA
- Versorgungsstrom von 8,5mA mit Standby-Version (DRV10987S)
- Stromversorgung von 48 µA mit Schlaf-Version (DRV10987D)
- Schutzfunktionen
- Überstromschutz (Phase-zu-Phase-, Phase-zu-GND- und Phase-zu-VCC-Kurzschlüsse)
- Verriegelungserkennung zur Erkennung des Rotorverriegelungszustands
- Anti-Spannungs-Stoßstrom (AVS)
- Unterspannungssperre (UVLO)
- Überspannungsschutz
- Temperaturwarnung und Abschaltung
- Verbessertes thermisches Gehäuse
Applikationen
- Steh- und Deckenventilatoren
- Luftreiniger und Luftbefeuchter
- Umwälzlüfter in Trocknern
- Entleerungs- und Wasserpumpen
- Dreiphasen-BLDC- und PMSM-Motoren
DRV10987 Blockdiagramm
