Texas Instruments LMx24x/LM2902x/LMx24x-Q1/LM2902x-Q1 Quad-Operationsverstärker
Die Vierfach-Operationsverstärker LMx24x/LM2902x/LMx24x-Q1/LM2902x-Q1 von Texas Instruments stellen die nächste Generation der branchenüblichen Operationsverstärker (Op-Amps) LM324 und LM2902 dar und umfassen vier Hochspannungs-Operationsverstärker mit einer Nennspannung von 36 V. Diese Bauelemente bieten ein hervorragendes Preis-Leistungs-Verhältnis für kostenbewusste Anwendungen mit Funktionen wie niedrigem Offset (600µV, typisch), Gleichtakt-Eingangsbereich bis zur Masse und hoher Differenzeingangsspannungsfähigkeit.Die Operationsverstärker LMx24x/LMx24x-Q1 und LM2902x/LM2902x-Q1 von Texas Instruments vereinfachen die Schaltungsentwicklung durch verbesserte Funktionen wie Einheitsverstärkungsstabilität, eine geringere maximale Offset-Spannung von 3 mV (maximal 2 mV für LM324BA und LM2902BA) und einen niedrigeren Ruhestrom von 240 µA pro Verstärker (typisch). Durch die hohe ESD (2 kV, HBM) und integrierte EMI- und HF-Filter können die LMx24x/LMx24x-Q1 und LM2902x/LM2902x-Q1 Bauteile in Applikationen mit den rauesten und schwierigsten Umweltbedienungen verwendet werden. Die Bauteile LMx24x-Q1 und LM2902x-Q1 sind nach AEC-Q100 für Automotive-Applikationen qualifiziert.
Merkmale
- Großer Versorgungsbereich: 3 V bis 36 V (B-, BA-Versionen)
- ±2 mV (bei BA-Versionen, LM2902A, LM124A) niedriges Eingangs-Offset-Spannungsmaximum bei 25 °C
- 2-kV-ESD-Schutz (HBM) (B-, BA-, K-Versionen)
- Interner HF- und EMI-Filter (B-, BA-Versionen)
- Gleichtakt-Eingangsspannungsbereich einschließlich V-
- Eingangsspannungs-Differential kann bis zur Versorgungsspannung angesteuert werden
- Auf Produkten, die mit MIL-PRF-38535 konform sind, werden alle Parameter getestet, sofern nicht anders angegeben
- Die Produktionsverarbeitung umfasst nicht unbedingt das Testen aller Parameter für alle anderen Produkte
Applikationen
- Stromversorgungseinheiten für Händlernetzwerk und Server
- Multifunktionsdrucker
- Netzteile und mobile Ladegeräte
- Desktop-PC und Motherboard
- Klimaanlagen für den Innen- und Außenbereich
- Waschmaschinen, Trockner und Kühlschränke
- AC-Wechselrichter, Stringwechselrichter, zentrale Wechselrichter und Spannungsfrequenzantriebe
- Unterbrechungsfreie Stromversorgungen
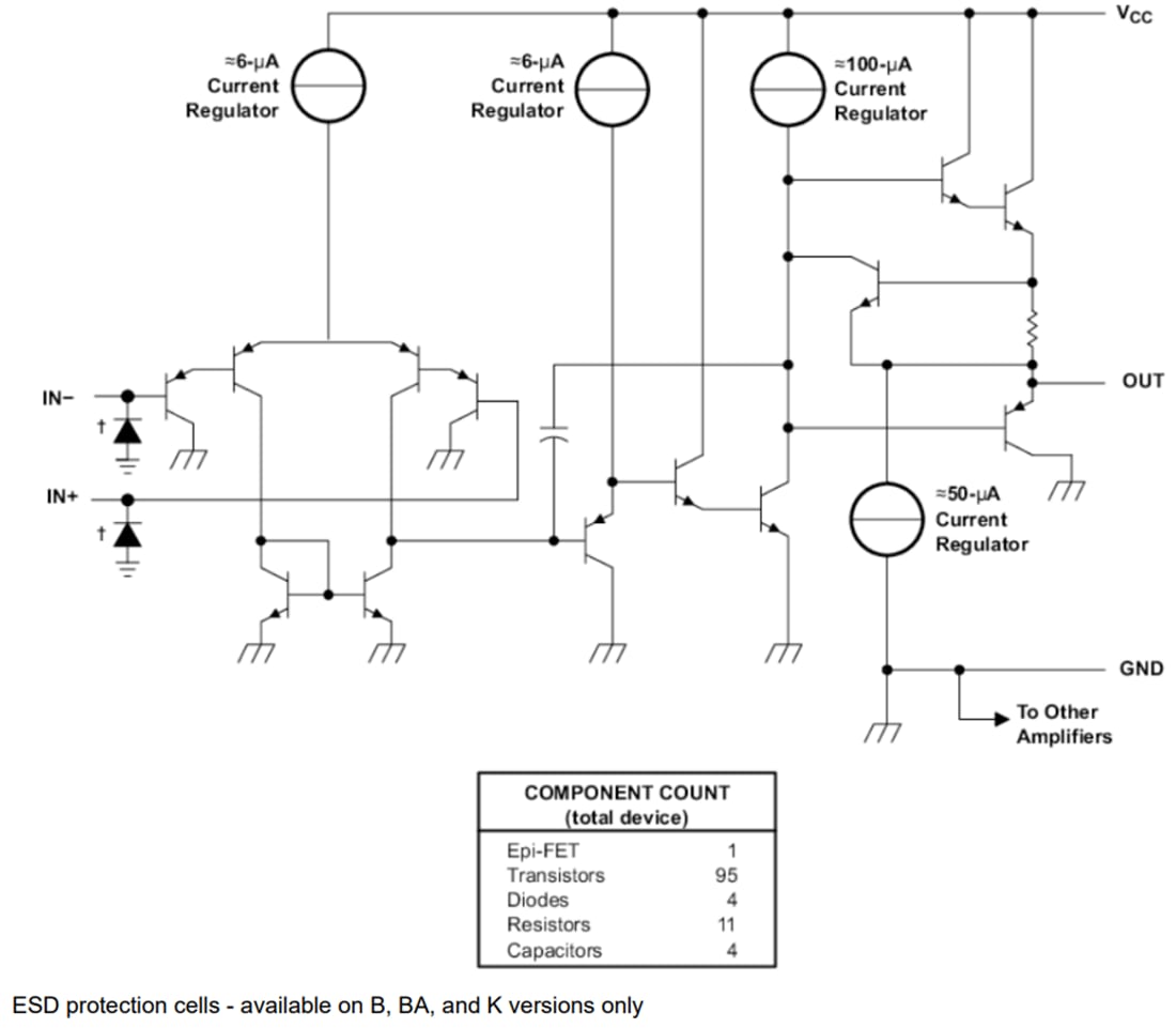
Funktionales Blockdiagramm
Datenblätter
Weitere Ressourcen
Veröffentlichungsdatum: 2022-11-09
| Aktualisiert: 2025-06-06
