Texas Instruments LP8733xx/LP8733xx-Q1 Leistungsmanagement-ICs

Die LP8733xx-Q1/LP8733xx-Q1 Leistungsmanagement-ICs (PMICs) von Texas Instruments sind zur Erfüllung der Leistungsmanagement-Anforderungen in Fahrzeuganwendungen ausgelegt. Jedes Bauteil verfügt über zwei DC/DC-Abwärtswandler, die als ein einziger zweiphasiger Regler oder als zwei einphasige Regler und zwei lineare Regler und Universal-Digitalausgangssignale konfiguriert werden können. Jedes Bauteil wird über eine serielle I2C-kompatible Schnittstelle und über ein Freigabesignal gesteuert.

Der automatische PWM/PFM-Betrieb (AUTO-Modus) sorgt zusammen mit der automatischen Phasenerweiterung/-abwurf für einen hohen Wirkungsgrad über einen großen Ausgangsstrombereich. Der LP8733xx/LP8733xxQ1 unterstützt die ferngesteuerte Spannungsmessung (differential in Zweiphasen-Konfiguration), um den IR-Abfall zwischen dem Wandlerausgang und der Punktlast (POL) zu kompensieren. Dies verbessert die Genauigkeit der Ausgangsspannung. Außerdem kann der Schalttakt in den PWM-Modus gezwungen und mit einem externen Takt synchronisiert werden, um Störungen zu reduzieren.

Der Texas Instruments LP8733xx/LP8733xx-Q1 unterstützt programmierbare Einschalt- und Abschaltverzögerungen und Sequenzen, einschließlich GPO-Signale, die mit dem Freigabesignal synchronisiert sind. Während der Inbetriebnahme und Spannungsänderung steuert das Bauteil die Ausgangs-Anstiegsrate zur Reduzierung der Überschwingung der Ausgangsspannung und des Einschaltstroms. Die LP8733xx-Q1 Bauteile sind für Fahrzeuganwendungen AEC-Q100-qualifiziert.

Merkmale

  • Eingangsspannung: 2,8 V bis 5,5 V
  • Zwei DC/DC-Abwärtswandler mit hohem Wirkungsgrad
    • Ausgangsspannung: 0,7 V bis 3,36 V
    • Maximaler Ausgangsstrom von 3 A pro Phase
    • Automatisches Hinzufügen/Shedding von Phasen und erzwungene Mehrphasen-Betriebsabläufe in einer Zweiphasen-Konfiguration
    • Ferngesteuerte Differential-Rückkopplungsspannungsmessung in einer Zweiphasen-Konfiguration
    • Programmierbare Ausgangsspannungs-Anstiegsrate von 0,5 mV/µs auf 10 mV/µs
    • Schaltfrequenz: 2 MHz
    • Frequenzspreizungsmodus und Phasenverschachtelung für EMI-Reduktion
  • Zwei Linearregler
    • Eingangsspannung: 2,5 V bis 5,5 V
    • Ausgangsspannung: 0,8 V bis 3,3 V
    • Maximaler Ausgangsstrom: 300 mA
  • Konfigurierbare Universal-Ausgangssignale (GPO, GPO2)
  • Interrupt-Funktion mit programmierbarer Maskierung
  • Programmierbares Power-Good-Signal (PGOOD)
  • Überlastschutz und Kurzschluss-Sicherung am Ausgang
  • Übertemperaturvorwarnung und Schutz
  • Unterspannungssperre (UVLO) und Überspannungsschutz (OVP)
  • 28-Pin-VQFN-Gehäuse mit benetzbaren Flanken von 5 mm x 5 mm

Applikationen

  • Automotive-Hauptgerät und Kombiinstrumente
  • Automotive-Kameramodul
  • Rundumsichtsystem-ECU
  • Radarsystem-ECU

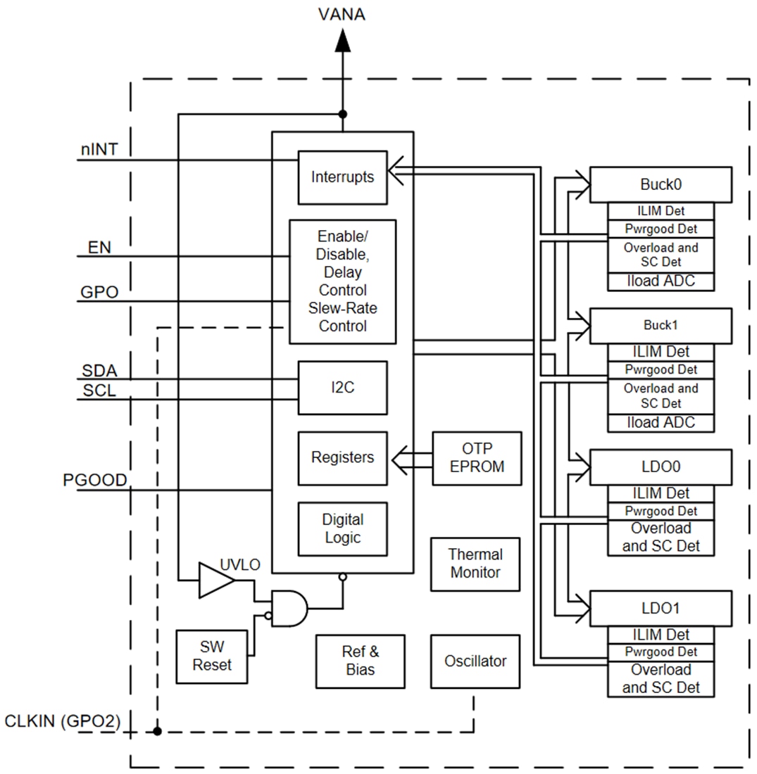
Funktionales Blockdiagramm

Blockdiagramm - Texas Instruments LP8733xx/LP8733xx-Q1 Leistungsmanagement-ICs
Veröffentlichungsdatum: 2021-04-19 | Aktualisiert: 2024-03-11