Texas Instruments LP875761-Q1 Vierphasen-DC/DC-Abwärtswandler

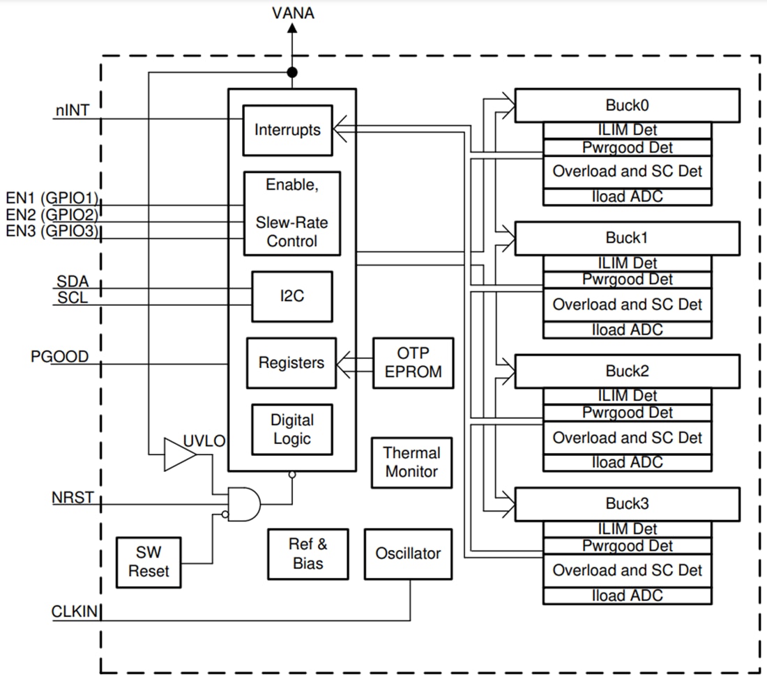
Texas Instruments LP875761-Q1 Vierphasen-DC/DC-Abwärtswandler sind für die Erfüllung der Leistungsmanagementanforderungen der neuesten Prozessoren und Plattformen in verschiedenen Automotive-Leistungsapplikationen ausgelegt. Dieses Bauteil enthält vier DC/DC-Abwärtswandler-Cores, die als vierphasiger Ausgang im erzwungenen PWM-Modus konfiguriert sind. Das Bauteil wird über eine I2C-kompatible serielle Schnittstelle und über Freigabesignale gesteuert. Der LP875761-Q1 unterstützt die ferngesteuerte Differential-Spannungserkennung für Multiphasen-Ausgänge, um den IR-Abfall zwischen dem Reglerausgang und der Punktlast (POL) zu kompensieren und dadurch die Genauigkeit der Ausgangsspannung zu verbessern. Der Schalttaktgeber kann in den PWM-Modus gezwungen und zur Reduzierung von Störungen mit einem externen Taktgeber synchronisiert werden.

Der LP875761-Q1 von Texas Instruments unterstützt eine Ladestrommessung ohne zusätzliche externe Strommesswiderstände. Das LP875761-Q1 Bauteil unterstützt außerdem programmierbare Einschalt- und Abschaltverzögerungen und Sequenzen, die zur Freigabe der Signale synchronisiert sind. Darüber hinaus können Sequenzen GPIO-Signale zur Steuerung von externen Reglern, Lastschaltern und einem Prozessor-Reset umfassen. Während der Inbetriebnahme steuert das Bauteil die Ausgangs-Anstiegsrate zur Reduzierung der Überschwingung der Ausgangsspannung und des Einschaltstroms.

Merkmale

  • Für Fahrzeuganwendungen zugelassen
  • Mit den folgenden Ergebnissen gemäß AEC-Q100 qualifiziert:
    • Umgebungsbetriebstemperatur der Klasse 1: -40 °C bis +125 °C
    • HBM-ESD-Bauteilklassifikation Stufe 2
    • CDM-ESD-Bauteilklassifikation Stufe C4B
  • Eingangsspannung: 2,8 V bis 5,5 V
  • Ausgangsspannung: 1,0 V
  • Vier DC/DC-Abwärtswandler-Cores mit hohem Wirkungsgrad
    • Maximaler Ausgangsstrom: 16 A (4 A pro Phase)
  • Schaltfrequenz: 3 MHz
  • Frequenzspreizungsmodus und Phasenverschachtelung
  • Konfigurierbare Universal-I/O (GPIOs)
  • Eine I2C-kompatible Schnittstelle, die Standard- (100 kHz), Fast- (400 kHz), Fast+- (1 MHz) und High-Speed-Betriebsarten (3,4 MHz) unterstützt
  • Interrupt-Funktion mit programmierbarer Maskierung
  • Programmierbares Power-Good-Signal (PGOOD)
  • Überlastschutz und Kurzschluss-Sicherung am Ausgang
  • Übertemperaturwarnung und -schutz
  • Unterspannungssperre (UVLO) und Überspannungsschutz (OVP)

Applikationen

  • Automotive-Infotainment
  • Kombiinstrumente
  • Radar
  • Kamera-Leistungsapplikationen

Funktionales Blockdiagramm

Blockdiagramm - Texas Instruments LP875761-Q1 Vierphasen-DC/DC-Abwärtswandler
Veröffentlichungsdatum: 2021-02-10 | Aktualisiert: 2022-03-11