Texas Instruments LP87702-Q1 Dual-Abwärtswandler
Texas Instruments LP87702-Q1 Dual-Abwärtswandler sind zur Erfüllung der Anforderungen der Leistungsmanagement-Plattform in Fahrzeuganwendungen, wie Radar/Kamera und in Industrie-Radar-Applikationen ausgelegt. Der LP87702-Q1 verbindet zwei DC/DC-Abwärtswandler mit einem 5V-Aufwärtswandler/Bypass-Schalter, zwei Spannungsüberwachungseingängen für externe Netzteile und einem Window-Watchdog. Das Bauteil wird über eine I2C-kompatible serielle Schnittstelle und über eine Freigabesignalsteuerung mit Leistung versorgt. Der automatische PWM/PFM-Betrieb (AUTO-Modus) ermöglicht einen hohen Wirkungsgrad über einen großen Ausgangsstrombereich. Durch die interne Schaltung, die zur Unterstützung der Strommessung ausgelegt ist, benötigt das LP8770 Bauteil keinen externen Widerstand. Digitale Universal-Ausgänge und programmierbare Einschalt-/Abschalt-Sequenzen, die mit dem Freigabesignal synchronisiert sind, werden durch das Bauteil unterstützt. Die LP87702-Q1 Bauteile sind für Fahrzeuganwendungen AEC-Q100-qualifiziert.Merkmale
- Nach AEC-Q100 für Fahrzeuganwendungen qualifiziert
- Bauteil-Temperatur Klasse 1: -40 °C bis 125 °C TA
- Zwei DC/DC-Abwärtswandler mit hohem Wirkungsgrad:
- Maximaler Ausgangsstrom von 3,5 A
- 2 MHz, 3 MHz oder 4 MHz Schaltfrequenz
- Automatischer PWM/PFM- und erzwungener PWM-Betrieb
- Ausgangsspannung: 0,7 V bis 3,36 V
- 5V-Aufwärtswandler mit Bypass-Modus-Option:
- Maximaler Ausgangsstrom von 600 mA
- Zwei Eingänge für externe Spannungsüberwachung
- Interrupt-Funktion mit programmierbarer Maskierung
- Überlastschutz und Kurzschlusssicherung am Ausgang
- Übertemperaturvorwarnung und Schutz
- Zwei programmierbare Power-Good-Signale
- Dedizierte Referenzspannung für Diagnose
- Fenster-Watchdog mit Reset-Ausgang
- Externer Takteingang zur Synchronisierung der Schaltung
- Frequenzspreizungsmodulation
- Programmierbare Einschalt- und Abschaltverzögerungen und Sequenzierung mit Freigabesignal
- Konfigurierbare Universal-Ausgänge (GPOs)
- I2C-kompatible Schnittstelle unterstützt Standard- (100 kHz), Fast- (400 kHz), Fast+- (1 MHz) und High-Speed- (3,4 MHz) Betriebsarten
- Unterspannungssperre (UVLO) und Überspannungsschutz (OVP)
Applikationen
- Automotive-Radar
- Automotive-Kameras
- Automotive-Sensor-Fusion
- Industrie-Radar
- Gebäudeautomatisierung
Datasheets
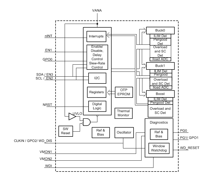
Blockdiagramm
Veröffentlichungsdatum: 2018-08-24
| Aktualisiert: 2024-01-29
