Texas Instruments IWR6x 60-GHz- bis 64-GHz-mmWave-Sensoren
Texas Instruments IWR6x 60-GHz- bis 64-GHz-mmWave-Sensoren sind integrierte Einzelchip-mmWave-Sensoren, die auf der FMCW-Radartechnologie basieren und zu einem Betrieb im 60-GHz- bis 64-GHz-Band fähig sind. Diese Bauteile sind mit dem leistungsstarken 45-nm-RFCMOS-Prozess von TI ausgelegt und ermöglichen eine bisher unerreichte Integration in einer extrem kleinen Baugröße. Die IWR6x mmWave 60-GHz- bis 64-GHz-mmWave-Sensoren von Texas Instruments sind eine ideale Lösung für selbstüberwachte Radarsysteme mit geringem Stromverbrauch und hoher Genauigkeit im Industriebereich.Merkmale
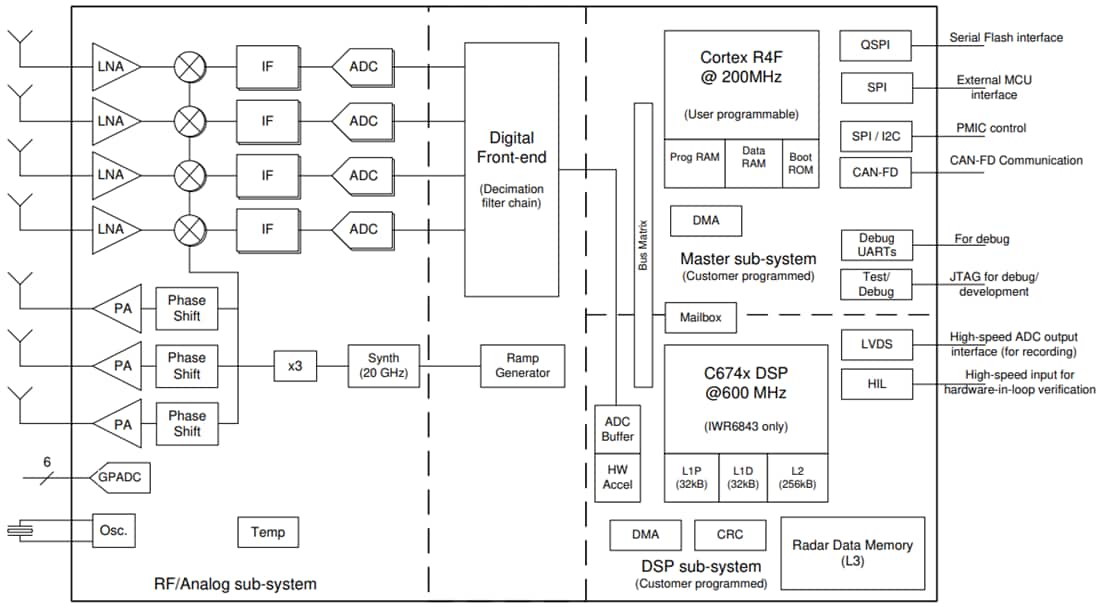
- FMCW-Transceiver
- Integrierte PLL, Sender, Empfänger, Basisband und A2D
- Abdeckung von 60 GHz bis 64 GHz mit kontinuierlicher 4-GHz-Bandbreite
- Vier Empfangskanäle
- Drei Sendekanäle
- Unterstützt einen 6-Bit-Phasenschieber für die TX-Strahlformung
- Sehr genaue Chirp-Engine basierend auf Fraktional-N-PLL
- TX-Leistung: 12 dBm
- RX-Rauschfaktor: 12 dB
- Phasenrauschen bei 1 MHz: -93 dBc/Hz
- Integrierte Kalibrierung und Selbsttest
- ARM® Cortex®-R4F-basiertes Funksteuerungssystem
- Integrierte Firmware (ROM)
- Selbstkalibrierungssystem über Frequenz und Temperatur
- C674x DSP für eine fortschrittliche Signalverarbeitung (nur IWR6843)
- Hardware-Beschleuniger für FFT, Filterung und CFAR-Verarbeitung
- Speicherkomprimierung
- ARM-R4F-Mikrocontroller für Objekterkennung und Schnittstellensteuerung
- Unterstützung für autonomen Modus (Ladenutzerapplikation von QSPI-Flash-Speicher)
- Interner Speicher mit ECC
- IWR6843 – 1,75 MB, unterteilt in MSS-RAM-Programm (512 KB), MSS-Daten RAM (192 KB), DSP-L1-RAM (64 KB) und L2-RAM (256 KB) und L3-Radar-Datenwürfel-RAM (768 KB)
- IWR6443 – 1,4 MB, unterteilt in MSS-RAM-Programm (512 KB), MSS-Daten RAM (192 KB) und L3-Radar-Datenwürfel-RAM (768 KB)
- Das technische Referenzhandbuch enthält zulässige Größenänderungen
- Weitere für Benutzerapplikationen verfügbare Schnittstellen
- Bis zu 6 ADC-Kanäle (Überwachung mit niedriger Abtastrate)
- Bis zu 2 SPI-Anschlüsse
- Bis zu 2 UARTs
- 1 CAN-FD-Schnittstelle
- I2C
- GPIOs
- 2-Spur-LVDS-Schnittstelle für ADC-Rohdaten- und Debug-Messgeräte
- Für die funktionale Sicherheit ausgelegt
- Für funktionale Sicherheitsapplikationen ausgelegt
- Dokumentation zur Unterstützung des Designs von funktionalen Sicherheitssystemen gemäß IEC61508 ist verfügbar
- Für eine Hardware-Integrität von bis zu SIL-2 ausgelegt
- Sicherheitsbezogene Zertifizierung
- IEC 61508 Zertifizierung durch TÜV-SÜD geplant
- Leistungsmanagement
- Eingebautes LDO-Netzwerk für verbesserte PSRR
- I/Os unterstützen eine Dual-Spannung von 3,3 V/1,8 V
- Taktquelle
- 40,0-MHz-Quarz mit internem Oszillator
- Unterstützt einen externen Oszillator bei 40 MHz
- Unterstützt einen extern angetriebenen Taktgeber (quadratisch/sinusförmig) bei 40 MHz
- Einfaches Hardware-Design
- 161-Pin-Flip-Chip-BGA-Gehäuse mit einem Rastermaß von 0,65 mm von 10,4 mm × 10,4 mm für eine einfache Montage und ein kostengünstiges PCB-Design
- Kleine Lösungsgröße
- Betriebsbedingungen
- Sperrschichttemperaturbereich: -40 °C bis +105 °C
Applikationen
- Industriesensor für Messbereich, Geschwindigkeit und Winkel
- Gebäudeautomatisierung
- Abstandsmessung
- Gestenerkennung
- Robotik
- Verkehrsüberwachung
- Näherungs- und Positionserfassung
- Sicherheit und Überwachung
- Fabrikautomatisierungs-Schutzvorrichtungen
- Personenzählung
- Bewegungserkennung
Funktionales Blockdiagramm
Veröffentlichungsdatum: 2019-11-06
| Aktualisiert: 2024-09-16
