Texas Instruments OPAx196 Stromsparende Operationsverstärker
Die universellen stromsparenden Operationsverstärker OPAx196 von Texas Instruments sind eine neue Generation von 36V-Rail-to-Rail-e-trim™-Operationsverstärkern. Diese Bauelemente bieten eine sehr niedrige Offsetspannung (±25 µV, typisch), einen Drift (±0,5 µV/°C, typisch) und einen niedrigen Ruhestrom (±5 pA, typisch). Diese Eigenschaften werden mit einem sehr niedrigen Ruhestrom (140 μA/Kanal, typisch) über den gesamten Ausgangsbereich kombiniert. Die einzigartigen Merkmale umfassen einen differentiellen Eingangsspannungsbereich zur Versorgungsschiene, eine hohe Ausgangsspannung (±65 mA) und einen hohen kapazitiven Lastantrieb bis zu 1 nF. Dadurch ist der OPAx196 ein robuster Hochleistungs-Operationsverstärker für Industrieapplikationen mit hoher Spannung.Merkmale
- Niedrige Offsetspannung: max. ±100 µV
- Niedriger Offsetspannungsdrift: ±0,5 µV/°C (typisch)
- Niedriger Ruhestrom: +5 pA typisch
- Hohe Gleichtaktunterdrückung: 140 dB
- Rauscharm: 15 nV/√Hz bei 1 kHz
- Rail-to-Rail-Eingang und -Ausgang
- Differenzieller Eingangsspannungsbereich in Bezug auf Versorgungsschiene
- Hohe Bandbreite: 2,5 MHz GBW
- Niedriger Ruhestrom: 140 µA pro Verstärker (typisch)
- Breiter Spannungsversorgungsbereich: ±2,25 V bis ±18 V, 4,5 V bis 36 V
- EMI/RFI-gefilterte Eingänge
- Hohe kapazitive Lastansteuerung: 1 nF
- Gehäuse nach Industriestandard
- Einzeln in SOIC-8, SOT-5 und VSSOP-8
- Dual in SOIC-8 und VSSOP-8
- Quad in SOIC-14, TSSOP-14 und QFN-16
Applikationen
- Multiplexer-Datenerfassungssysteme
- Prüf- und Messgeräte
- Hochauflösende ADC-Treiberverstärker
- SAR ADC-Referenzpuffer
- Analoge Eingangs-/Ausgangsmodule
- High-Side- und Low-Side-Strommessung
- Präzisionskomparator
- Medizinische Messgeräte
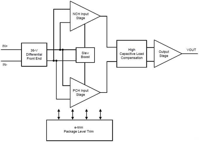
Funktionales Blockdiagramm
Veröffentlichungsdatum: 2017-10-06
| Aktualisiert: 2022-06-27
