Texas Instruments PCI2050B PCI-zu-PCI-Brücke
Die Texas Instruments PCI2050B PCI-zu-PCI-Brücke verfügt über einen leistungsstarken Verbindungspfad zwischen zwei PCI-Bussen (Peripheral Component Interconnect, PCI), der mit einer maximalen Busfrequenz von 66 MHz betrieben wird. Transaktionen erfolgen zwischen den Mastern auf einem und den Zielen auf einem anderen PCI-Bus. Die PCI2050B Brücke ermöglicht die gleichzeitige Durchführung von überbrückten Transaktionen auf beiden Bussen. Die PCI-zu-PCI-Brücke unterstützt Burst-Modus-Übertragungen zur Maximierung des Datendurchsatzes und die beiden Bus-Datenverkehrspfade durch die Brücke arbeiten unabhängig voneinander.Die PCI2050B Brücke von TI ist mit der PCI-Local-Bus-Spezifikation konform und wird verwendet, um die elektrischen Ladegrenzen von 10 Bauteilen pro PCI-Bus und ein PCI-Bauteil pro Erweiterungssteckplatz durch die Erstellung von hierarchischen Bussen zu überwinden. Die PCI2050B bietet eine zweistufige interne Arbitrierung für bis zu neun sekundäre Bus-Master und kann mit einem externen Bus-Arbiter implementiert werden.
Die erweiterte CompactPCI™ Hot-Swap-PCI-Funktion macht die PCI2050B Brücke zu einer idealen Lösung für kompakte Multifunktions-PCI-Karten und zur Anpassung von Einzelfunktionskarten an die Hot-Swap-Konformität.
Merkmale
- Zwei 32-Bit-PCI-Busse mit 66 MHz
- 3,3-V-Core-Logikschaltung mit Universal-PCI-Schnittstellen, die mit 3,3-V- und 5-V-PCI-Signalisierungsumgebungen kompatibel sind
- Zweistufige interne Arbitrierung für bis zu neun sekundäre Bus-Master mit Unterstützung für einen externen sekundären Bus-Arbiter
- Zehn sekundäre PCI-Taktausgänge
- Unabhängige Lese- und Schreibbuffer für jede Richtung
- Burst-Datenübertragungen mit Pipeline-Architektur zur Maximierung des Datendurchsatzes in beide Richtungen
- Unterstützt die Schreibkombination für einen verbesserten Datendurchsatz
- Unterstützt die Frame-zu-Frame-Verzögerung von nur vier PCI-Taktgebern von einem zu einem anderen Bus
- Bis zu drei verzögerte Transaktionen in beide Richtungen
- Busverriegelungslaufzeit
- Vorhersehbare Latenz gemäß PCI-Local-Bus-Spezifikation
- Architektur konfigurierbar für PCI-Bus-Leistungsmanagement-Schnittstellenspezifikation
- CompactPCI-Hot-Swap-Funktionsumfang
- Der sekundäre Bus wird während dem Reset niedrig angesteuert
- VGA-/Palettenspeicher- und I/O-Dekodierungsoptionen
- Fortschrittliche stromsparende Submikron-CMOS-Technologie
- 208-Anschluss-PDV-, 208-Anschluss-PPM- oder 257-Anschluss-MicroStar-BGA™- Gehäuse
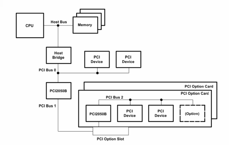
Blockdiagramm
Veröffentlichungsdatum: 2021-02-03
| Aktualisiert: 2022-03-11
