Texas Instruments Texas Instruments PCM1804 Stereo Analog-Digital-Wandler

Der Stereo-Analog-Digital-Wandler PCM1804 von Texas Instruments ist ein Hochleistungs-, Einzel-Chip-Stereo AD-Wandler mit vollständig differentiellem analogem Spannungseingang. Der PCM1804 verwendet einen Präzisions-Delta-Sigma-Modulator und einen linearen digitalen Phasenantialiasing-Filter sowie einen Hochpassfilter (HPF), der die Gleichstrom-Offset-Spannung von dem Eingangssignal entfernt. Der PCM1804 ist geeignet für eine Vielzahl von mittleren bis hochwertigen Consumer- und professionellen Anwendungen, bei denen eine hervorragende Leistung und eine 5V-Analogversorgung und eine 3,3V-Digitalversorgung erforderlich sind. Der PCM1804 kann aufgrund des Präzisions-Delta-Sigma-Modulators sowohl das PCM-Audio- und das DSD-Format erzielen. Der PCM1804 wird unter Verwendung eines modernen CMOS-Prozesses hergestellt und ist in einem kleinen 28-poligen SSOP-Gehäuse verfügbar.

Merkmale

  • 24-Bit Delta-Sigma Stereo A/D Converter
  • High Performance
    • 112dB (Typical) Dynamic Range
    • SNR: 111dB (Typical)
    • -102dB (Typical) THD+N
  • High-Performance Linear Phase Antialias Digital Filter
    • ±0.005dB Pass-Band Ripple
    • -100dB Stop-Band Attenuation
  • ±2.5V Fully Differential Analog Input:
  • Audio Interface (Master- or Slave-Mode Selectable)
  • Data Formats (Left-Justified, I2S, Standard 24-Bit, and DSD)
  • Function:
    • Peak Detection
    • -3dB at 1Hz, fS = 48kHz High-Pass Filter (HPF)
  • Sampling Rate up to 192kHz
  • System Clock (128fS, 256fS, 384fS, 512fS, or 768fS)
  • Dual Power Supplies
    • 5V for Analog
    • 3.3V for Digital
  • 225mW Power Dissipation
  • Small 28-Pin SSOP
  • DSD Output (1 Bit, 64fS)

Applikationen

  • AV Amplifier
  • MD Player
  • Digital VTR
  • Digital Mixer
  • Digital Recorder

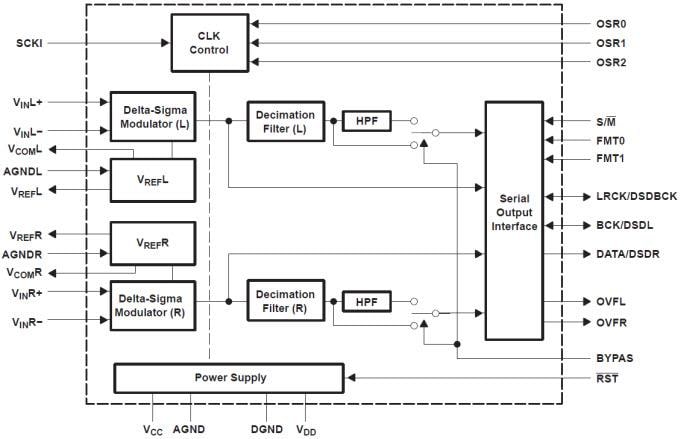
Functional Block Diagram

Blockdiagramm - Texas Instruments Texas Instruments PCM1804 Stereo Analog-Digital-Wandler
Veröffentlichungsdatum: 2014-09-09 | Aktualisiert: 2022-03-11