Texas Instruments SN65HVS883 Digital-Eingangs-Serialisierer
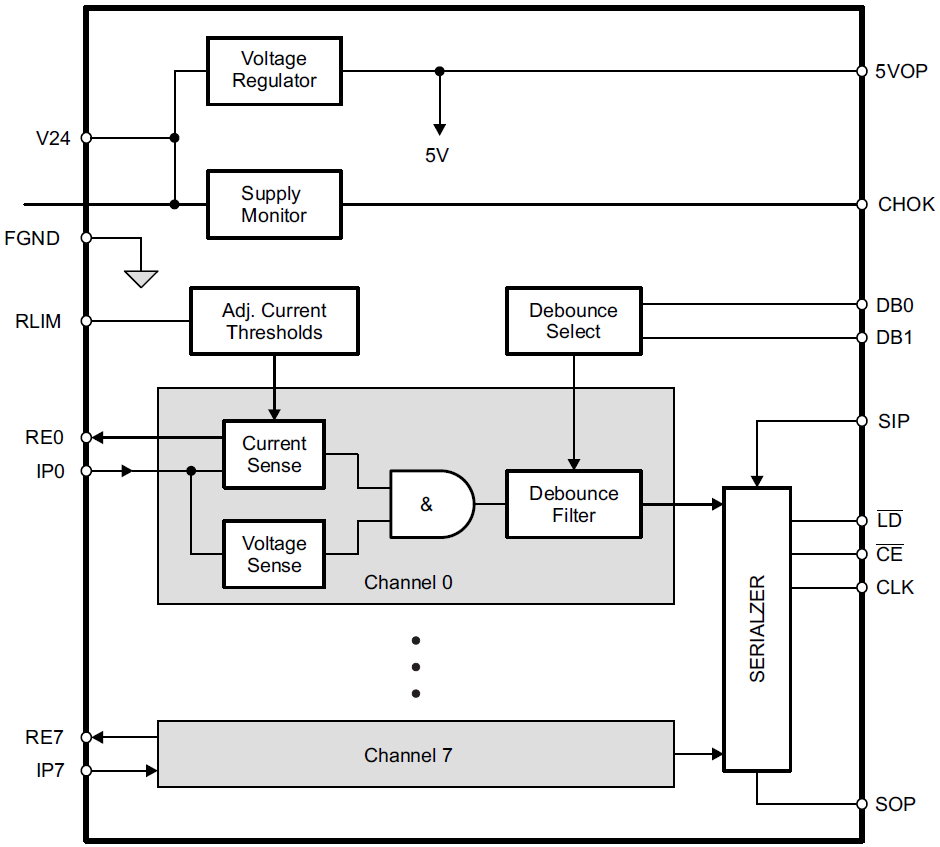
Der Serialisierer SN65HVS883 mit digitalem Eingang von Texas Instruments ist ein 24-V-Acht-Kanal-Serialisierer für digitale Eingangsmodule mit hoher Kanaldichte von PC- und PLC-basierten Systemen in der Industrieautomation. In Kombination mit galvanischen Isolatoren vervollständigt das Gerät die Schnittstelle zwischen den 24-V-Sensorausgängen der Feldseite und den Niederspannungs-Controller-Eingängen der Steuerseite. Eingangssignale von EN60947-5-2-konformen 2-Draht- und 3-Draht-Näherungsschaltern werden strombegrenzt und dann durch interne Entprellungsfilter validiert. Die Eingangs-Schalt-Charakteristik ist in Übereinstimmung mit IEC61131-2 für Sensorschalter vom Typ 1, 2, und 3. Bei Anwesenheit von Last- und Takt-Signalen werden die eingehenden Daten in das Schieberegister parallel gesperrt. Danach wird es seriell über einen nachträglichen Isolator in einen seriellen PLC-Eingang ausgetaktet.Merkmale
- Acht Sensoreingänge
- Hohe Eingangsspannung bis zu 34 V
- Integrierte Entprellungsfilter, wählbar von 0 bis 3 ms
- Einstellbare Strombegrenzungen von 0,2 A bis 5,2 mA
- Feldeingänge und Versorgungsleitungen geschützt bis 15 kV HBM
- Ausgangstreiber für externe Status-LEDs
- Kaskadierbar für weitere Eingaben in Vielfachen von acht
- SPI-kompatible serielle Schnittstelle
- Regulierter 5V-Ausgang für externen Digital-Isolator
- Anzeige bei niedriger Versorgungsspannung
Applikationen
- Sensor-Eingänge für industrielle Automatisierung und Prozesssteuerung
- IEC61131-2 Typ 1, 2, oder 3 Schalter
- EN60947-5-2 Näherungsschalter
- Digitale Eingangsmodule mit hoher Kanaldichte für PC- und PLC-Systeme
- Dezentralisierte I/O-Module
Funktionales Blockdiagramm
Veröffentlichungsdatum: 2017-04-28
| Aktualisiert: 2022-04-28
