Texas Instruments TAS3251 Ultra-HD-Verstärker der Klasse D mit digitalem Eingang
Texas Instruments TAS3251 Ultra-HD-Verstärker der Klasse D mit digitalem Eingang, die speziell für hohe Leistungen entwickelt wurden, ermöglichen eine wirklich erstklassige Tonqualität mit einem Wirkungsgrad der Klasse D. Die Lösung mit Hochleistungs-Einzel-Chip reduziert die Größe des Gesamtsystems und verringert die Kosten. Der TAS3251 funktioniert im AD-Modus und bietet eine mögliche Auslastung bis zu 2 x 175 W in eine Last von 4 Ω und 2 x 220 W in eine Last von 3 Ω. Auf dem digitalen Front-End befindet sich ein Hochleistungs-Burr-Brown™DAC mit integriertem DSP, wodurch sich das Gerät ideal zur erweiterten Audo-Verarbeitung, einschließlich SmartAmp und SmartEQ, eignet. Die schnelle und einfache Lautsprecherabstimmung und -kontrolle durch die DSP wird durch TI Pure Path™ Console Graphical-Software unterstützt. Die Leistungsstufe Klasse-D verfügt über ein erweitertes integriertes Feedback und eine proprietäre Hochgeschwindigkeits-Gate-Treiber-Fehlerkorrektur. Diese Funktion sorgt für eine extrem geringe Verzerrung und Nebengeräusche über den Audio-Frequenzbereich.Merkmale
- Flexible Audioeingänge
- I2S, TDM, linksbündig, rechtsbündig
- 32 kHz, 44,1 kHz, 48 kHz, 96 kHz
- Unterstützt 3-drahtigen digitalen Audio-Eingang (kein MCLK)
- Gesamte Ausgangsleistung bei 10 % THD+N
- 175 W Stereo zu 4 Ω in BTL-Konfiguration
- 220 W Stereo zu 3 Ω in BTL-Konfiguration
- 350 W Mono zu 2 Ω in PBTL-Konfiguration
- Gesamt-Ausgangsleistung bei 1 % THD+N:
- 140 W Stereo zu 4 Ω in BTL-Konfiguration
- 175 W Stereo zu 3 Ω mit BTL-Konfiguration
- 285 W Mono zu 2 Ω in PBTL-Konfiguration
- Fortgeschrittenes integriertes Closed-Loop-Design
- Superniedrige 0,01 % THD+N bei 1 W in 4 Ω
- <0,01 % THD+N zu Clipping
- 60 dB PSRR (BTL, kein Eingangssignal)
- <75 μV Ausgangsrauschen (A-belastet)
- >108 dB SNR (A-belastet)
- Verarbeitungsfunktionen mit festgelegter Funktion
- Smarteq (15 x Biquads)
- Crossover EQ (2 x 5 Biquads)
- Forschrittliche 3-Band-DRC + AGL
- Dynamischer EQ und SmartBass
- Umwandlung der Abtastrate
- Steuerfunktionen:
- Steuerung im I2C-Softwaremodus
- Adressauswahl-Pin
- Effizienter D-Klassen-Betrieb (4 Ω) von 90 %
- Breiter Versorgungsspannungsbetrieb von 12 V bis 36 V
- Integrierte Schutzfunktionen mit Fehlerbericht: Unterspannungs-, Zyklus-für-Zyklus-Strombegrenzungs-, Kurzschluss-, Verschnitterkennungs-, Übertemperaturwarnung und Abschalt-Schutz sowie DC-
- Lautsprecherschutz
Applikationen
- Bluetooth- und WLAN-Lautsprecher
- Soundbars
- Subwoofer
- Bücherregal-Stereoanlagen
- Professionelle und Beschallungs-Lautsprecher (PA)
- Active Crossover- und Zwei-Wege-Lautsprecher
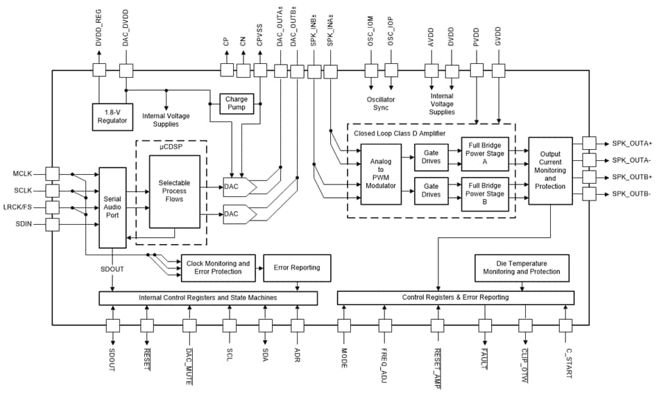
Blockdiagramm
Veröffentlichungsdatum: 2018-08-03
| Aktualisiert: 2023-02-03
