Texas Instruments TAS5441-Q1 Mono-Audioverstärker der Klasse D
Der Mono Class-D Audioverstärker von Texas Instruments TAS5441-Q1 ist ideal für Notrufe im Auto (eCall), Telematik, Kombiinstrumente und Infotainment-Anwendungen. Das Bauteil liefert bis zu 22 W in 4 Ω bei weniger als 10 % THD+N von einer 14,4 VDC Autobatterie. Der Texas Instruments TAS5441-Q1 hat einen großen Betriebsspannungsbereich und einen ausgezeichneten Wirkungsgrad, wodurch er sich ideal für die Start-Stopp-Unterstützung oder den Betrieb mit einer Backup-Batterie eignet, wenn dies erforderlich ist. Der integrierte Load-Dump-Schutz reduziert die Kosten und die Größe externer Spannungsklemmen, und die integrierte Lastdiagnose meldet den Status des Lautsprechers über I2C.Merkmale
- Gemäß AEC-Q100 für Fahrzeuganwendungen zugelassen
- -40°C bis 125 °C, Temperaturklasse TA 1
- Digitaler Mono-BTL-Leistungsverstärker
- Ausgangsleistung von 22 W bei 10 % THD+N zu 4 Ω
- Betriebsbereich: 4,5 V bis 18 V
- 85 % Wirkungsgrad zu 4 Ω
- Analoger Differentialeingang
- Speaker Guard™-Lautsprecherschutz mit einstellbarem Leistungsbegrenzer
- Versorgungsspannungs-Unterdrückungsverhältnis (PSRR): 75 dB
- Lastdiagnosefunktionen
- Offene und kurzgeschlossene Ausgangslast
- Ausgangs-zu-Leistungs- und Ausgangs-zu-Masse-Kurzschlüsse
- Schutz- und Überwachungsfunktionen
- Kurzschluss-Sicherung
- Lastabwurfschutz von 40 V gemäß ISO-7637-2
- Ausgangs-DC-Pegelerkennung während der Musikwiedergabe
- Übertemperaturschutz
- Überspannungs- und Unterspannungsschutz
- Thermisch verbessertes 16-Pin-HTSSOP-Gehäuse (PWP) mit PowerPAD™ (Pad-Down)
- Für Automotive-EMV-Anforderungen ausgelegt
- ISO9000: 2002 TS16949-zertifiziert
- 40-V-Schutz vor Lastabwurf im Standby-Modus
- Nicht blockierende I2C im Standby
Applikationen
- Verstärker für den Fahrzeug-Notruf (eCall)
- Telematiksysteme
- Kombiinstrumentsysteme
- Infotainment-Audio
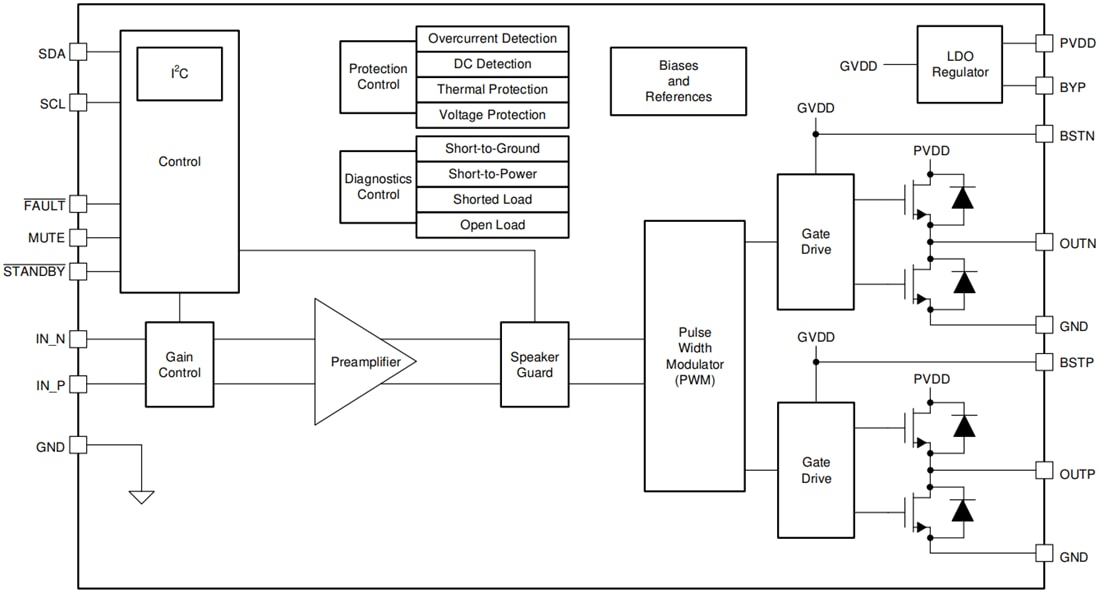
Funktionales Blockdiagramm
Veröffentlichungsdatum: 2020-08-11
| Aktualisiert: 2025-03-05
