Texas Instruments TAS5806MD Digitale Audioverstärker der Klasse D

Texas Instruments TAS5806MD Digitale Audioverstärker der Klasse D mit geschlossenem Regelkreis bieten eine kostengünstige Digitaleingangslösung mit geringer Verlustleistung und Klangbereicherung. Der TAS5806MD enthält einen Audioprozessor und eine 96-kHz-Architektur, die einen fortschrittlichen Audioprozessablauf, einschließlich SRC, 15 BQs pro Kanal, Volumensteuerung, Audiomischung, 3-Band-DRC der 4. Ordnung, Vollband-AGL, THD-Manager und Pegelmesser unterstützt.

Unter Verwendung des Hybridmodulationsschemas verbraucht das Bauelement sehr wenig Ruhestrom (16,5 mA bei 13,5 V PVDD), wodurch die Batterielaufzeit in tragbaren Audioapplikationen verlängert wird. Mithilfe der fortschrittlichen EMI-Unterdrückungstechnologie können Designer kostengünstige Ferritperlenfilter einsetzen, um den Platzbedarf auf dem Board und die Systemkosten für Applikationen unter 10 W zu reduzieren. Der TAS5806MD verfügt über einen integrierten Directpath™-Kopfhörerverstärker und -Leitungstreiber, um die Integration auf Systemebene zu verbessern und die Gesamtlösungskosten zu senken.

Merkmale

  • Unterstützt mehrere Ausgangskonfigurationen:
    • 2 × 23 W im 2.0-Modus (8 Ω, 21 V, THD+N = 1 %)
    • 45 W im Mono-Modus (4 Ω, 21 V, THD+N = 1 %)
  • Ausgezeichnete Audioleistung
    • THD+N = 0,03 % bei 1 W, 1 kHz, PVDD = 12 V
    • SNR ≥ 107 dB (A-belastet), Rauschpegel < 40 µVrms
  • Flexible Stromversorgungskonfigurationen
    • PVDD: 4,5 V bis 26,4 V
    • DVDD und I/O: 1,8 V oder 3,3 V
  • Flexible Audio-I/O
    • I2S, LJ, RJ, TDM, digitale 3-Draht-Audio-Schnittstelle (kein MCLK erforderlich)
    • Unterstützt Abtastraten von 32, 44,1, 48, 88,2, 96 kHz
    • SDOUT für Audio-Überwachung, Subkanal oder Echounterdrückung
  • Verbesserte Audioverarbeitung
    • Fortschrittliches Multi-Band-DRC und -AGL
    • 2 × 15 BQs, thermischer Foldback, DC-Blockierung
    • Eingangsmischer, Ausgangs-Crossbar, Füllstandsmesser
    • 5 BQs + 1-Band-DRC- und THD-Manager für den Subwoofer-Kanal
    • Option für Schallfeld-Spatializer (SFS)
  • Integrierter Selbstschutz
    • Benachbarte Pin-zu-Pin-Kurzschluss-Sicherung ohne Beschädigung
    • Überstromfehler
    • Übertemperaturalarm/-Fehler
    • Unter- oder Überspannungssperre (UVLO/OVLO)
  • Einfache Systemintegration
    • I2C-Steuerungssoftware
    • Reduzierte Lösungsgröße
      • Weniger passive Bauelemente erforderlich als bei Bauteilen mit offenem Regelkreis
      • Induktivitätsloser Betrieb (Ferritperle) für die meisten Fälle, in denen PVDD ≤ 14 V
      • Stereo-Kopfhörer, Stereo-Leitungstreiber passen die Verstärkung über I2C an
      • DirectPath-Technologie macht sperrige DC-Sperrkondensatoren überflüssig

Applikationen

  • LCD-Fernseher OLED-Fernseher
  • Drahtlose Lautsprecher, Smart-Lautsprecher mit Sprachassistent
  • Soundbar, drahtgebundene Lautsprecher, Regal-Stereoanlage
  • AV-Empfänger, Smart-Home und IoT-Haushaltsgeräte

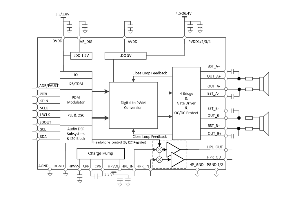
Blockdiagramm

Blockdiagramm - Texas Instruments TAS5806MD Digitale Audioverstärker der Klasse D
Veröffentlichungsdatum: 2019-10-15 | Aktualisiert: 2023-12-12