Texas Instruments TAS6424M-Q1 Automotive-Audioverstärker der Klasse D
Texas Instruments TAS6424M-Q1 Automotive-Audioverstärker der Klasse D enthalten eine PWM-Schaltfrequenz von 2,1 MHz, die eine kostenoptimierte Lösung in einer sehr kleinen PCB-Größe ermöglicht. Der TAS6424M-Q1 verfügt über einen vollständigen Betrieb bis hinunter zu 4,5 V für Start-/Stopp-Vorgänge und eine hervorragende Tonqualität mit einer Audio-Bandbreite bis zu 40 kHz. Die Ausgangsschaltfrequenz kann zur Optimierung des Wirkungsgrads entweder oberhalb oder unterhalb des AM-Bands eingestellt werden. Durch die Einstellung der Bandfrequenz oberhalb des AM-Bands werden die AM-Band-Verzerrungen eliminiert und die Ausgangsfilterung und die Kosten reduziert.Der TAS6424M-Q1 verfügt über eingebaute Lastdiagnosefunktionen zur Erkennung und Diagnose von fehlerhaften Verbindungen der Ausgänge. Darüber hinaus erkennt diese Funktion AC-gekoppelte Hochtöner zur Reduzierung der Testzeit während dem Herstellungsprozess. Das Bauteil bietet aus einer 14,4-V-Stromversorgung zwei Kanäle mit 27 W zu 4 Ω bei 10 % THD+N und 45 W zu 2 Ω bei 10 % THD+N.
Der TAS6424M-Q1 Audioverstärker der Klasse D eignet sich hervorragend für den Einsatz in Automotive-Haupteinheiten und externen Verstärkermodulen. Die TAS6424M-Q1 Bauteile sind für Fahrzeuganwendungen AEC-Q100-qualifiziert. Die TAS6421-Q1, TAS6422-Q1, TAS6424L-Q1 und TAS6424-Q1 bieten pinkompatible Ein-/Zwei-/Vierkanal-Optionen.
Merkmale
- Fortschrittliche Lastdiagnosen
- DC-Diagnosenbetrieb ohne Eingangstakte
- AC-Diagnose für Hochton-Erkennung mit Impedanz und Phasenreaktion
- Erfüllt problemlos die CISPR25-L5 EMC-Spezifikation
- Audioeingänge
- Vierkanal-I2S- oder Vier-/Achtkanal-TDM-Eingang
- Eingangs-Abtastraten: 44,1 kHz, 48 kHz, 96 kHz
- Eingangsformate: 16-Bit- bis 32-Bit-I2S und TDM
- Audioausgänge
- Vierkanal-BTL (Bridge-Tied-Load)
- Parallele Zweikanal-BTL (PBTL)
- Ausgangsschaltfrequenz von bis zu 2,1 MHz
- 27 W, 10 % THD zu 4 Ω bei 14,4 V BTL
- 45 W, 10 % THD zu 2 Ω bei 14,4 V BTL
- 80 W, 10 % THD zu 2 Ω bei 18 V PBTL
- Audioleistung zu 4 Ω bei 14,4 V BTL
- THD+N von <0,02 % bei 1 W
- 42 µVRMS Ausgangsrauschen
- –90 dB Nebensignaleffekt
- Für Fahrzeuganwendungen AEC-Q100-qualifiziert
- Bauteil-Temperatur Klasse 1: -40 °C bis 125 °C TA
- Lastdiagnosen
- Offener Lastkreis im Aus-Zustand und Kurzschluss
- Ausgang-zu-Batterie oder Erdschluss
- Leitungsausgangserkennung bis zu 6 kΩ
- Host-unabhängiger Betrieb
- Schutzfunktionen
- Ausgangsstrombegrenzung
- Ausgangskurzschlusssicherung
- 40 V Lastabwurf
- Tolerant gegenüber offene Masse und Leistung
- DC-Offset
- Übertemperatur
- Unter- und Überspannung
- Allgemeiner Betrieb
- Versorgungsspannung von 4,5 V bis 18 V
- I2C-Steuerung mit 4 Adressoptionen
- Clip-Erkennung und Temperaturwarnung
Applikationen
- Automotive-Haupteinheit
- Externe Automotive-Verstärker
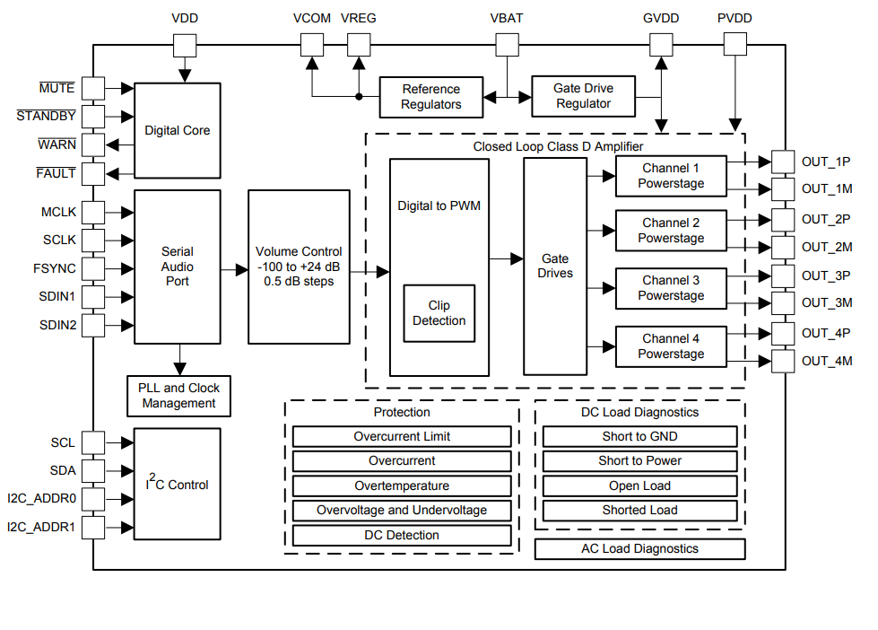
Blockdiagramm
Veröffentlichungsdatum: 2019-04-24
| Aktualisiert: 2025-03-06
