Texas Instruments TCA9539x-Q1 I2C/SMBus I/O-Expander

Die I2C-/SMBus-I/O-Expander TCA9539x-Q1 von Texas Instruments sind 24-polige Bauteile, die 16 Bits einer universellen parallelen Eingangs- und Ausgangserweiterung (I/O) für den zweidrahtigen bidirektionalen I2C-Bus oder das SMBus-Protokoll bereitstellen. Das Bauteil kann in einem Versorgungsspannungsbereich (VCC) von 1,65 V bis 5,5 V betrieben werden. Das Bauteil unterstützt Taktfrequenzen von 100 kHz (I2C Standard Mode) und 400 kHz (I2C Fast Mode). I/O-Expander wie dieses Bauteil bieten eine einfache Lösung, wenn zusätzliche Ein-/Ausgänge für Schalter, Sensoren, Drucktasten, LEDs, Lüfter und andere ähnliche Bauteile benötigt werden.

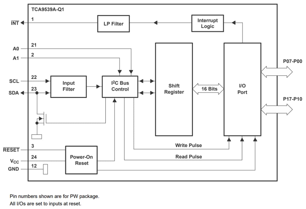
Zur Ausstattung des Bauteils gehört ein Interrupt, der am INT-Pin generiert wird, wenn ein Anschluss seinen Status ändert. Die hardwareseitig wählbaren Adresspins A0 und A1 erlauben bis zu vier Bauteile auf demselben I2C-Bus. Das Bauteil kann in seinen Standardzustand zurückgesetzt werden, indem die Stromversorgung aus- und wieder eingeschaltet und ein Power-On-Reset durchgeführt wird. Es verfügt außerdem über einen Hardware-Reset-Pin, mit dem das Bauteil auf seinen Standardzustand zurückgesetzt werden kann.

Der I/O-Expander TCA9539x-Q1 I2C von Texas Instruments ist für Fahrzeuganwendungen zugelassen.

Merkmale

  • AEC-Q100-zertifiziert für Fahrzeuganwendungen mit Temperaturklasse 1 von –40 °C bis +125 °C, TA
  • Geeignet für die funktionale Sicherheit mit Dokumentation zur Unterstützung des Designs von funktionalen Sicherheitssystemen
  • I2C-zu-Parallellport-Erweiterung
  • Open-Drain-Interruptausgang (Active Low)
  • Reset-Eingang (Active Low)
  • 5V-tolerante Eingangs- und Ausgang-Ports
  • Kompatibel mit den meisten Mikrocontrollern
  • 400 kHz schneller I2C-Bus
  • Polaritätsumkehrregister
  • Interne Stromversorgung nach Reset
  • Keine Spannungsspitze beim Einschalten
  • Adressierung über zwei Hardware-Adresspins zur Verwendung von bis zu vier Bauteilen
  • Verriegelte Ausgänge für die direkte Ansteuerung von LEDs
  • Die Latch-up-Festigkeit übersteigt 100 mA gemäß JESD 78, Klasse II
  • ESD-Schutz überschreitet JESD 22
    • Human-Body-Modell (A114-A): 2.000 V
    • 1.000 V Charged-Device Model (C101)

Applikationen

  • Fahrzeuginfotainment
  • Fahrerassistenzsysteme (ADAS)
  • Karosserielektronikanforderungen bei Fahrzeugen
  • HEV
  • EV
  • Antriebsstrang
  • Industrieautomatisierung
  • Fabrikautomatisierung
  • Gebäudeautomation
  • Prüf- und Messtechnik
  • EPOS
  • I2C-GPIO-Erweiterung

Funktionales Blockdiagramm

Blockdiagramm - Texas Instruments TCA9539x-Q1 I2C/SMBus I/O-Expander
Veröffentlichungsdatum: 2025-09-18 | Aktualisiert: 2025-09-28