Texas Instruments TCAL6416R I2C-Bus/SMBus-I/O-Expander
Der I2C-Bus/SMBus-I/O-Expander TCAL6416R von Texas Instruments bietet eine universelle Ausgangs- (I/O) und parallele Eingangs-Erweiterung für das zweidrahtige, bidirektionale SMBus- oder I2C-Bus-Protokoll. Das Gerät hat eine Versorgungsspannung von 1,08 V bis 3,6 V auf der P-Port-Seite (VCCP) und von 1,08 V bis 3,6 V auf der I2C-Bus-Seite (VCCI). Das Gerät unterstützt I2C-Taktfrequenzen von 100 kHz (Standardmodus), 400 kHz (Schnellmodus) und 1 MHz (Schnellmodus-Plus). I/O-Expander wie der TCAL6416R bieten eine einfache Lösung, wenn zusätzliche I/Os für Sensoren, Schalter, Drucktasten, LEDs, Lüfter usw. benötigt werden.Texas Instruments TCAL6416R verfügt über agile I/O Ports, die zusätzliche Funktionen enthalten, um das I/O Betriebsverhalten in Bezug auf Stromverbrauch, Geschwindigkeit und EMI zu verbessern. Zu den zusätzlichen Funktionen gehören programmierbare Pull-Up- und Pull-Down- Widerstände, programmierbare Ausgangstreiberstärke, verriegelbare Eingänge, Interrupt-Statusregister, maskierbarer Interrupt und programmierbare Open-Drain- oder Push-Pull -Ausgänge. Mit dem RESET-Pin wird die I2C-Zustandsmaschine nur dann zurückgesetzt, wenn sie hängen geblieben ist, um erneut Zugriff auf I2C zu erhalten. I/O-Pins und Sticky-Register behalten den zuletzt konfigurierten Zustand bei, während das I2C neu initialisiert wird.
Merkmale
- Betriebsspannungsbereich der Stromversorgung von 1,08 V bis 3,6 V
- Ermöglicht bidirektionale Spannungsübersetzung und GPIO-Erweiterung zwischen 1,2 V, 1,8 V, 2,5 V und 3,3 V I2C-Bus und p-Ports
- Niedriger Standby-Stromverbrauch von 1 µA typisch bei 1,8 V
- 1-MHz-Schnellmodus plus I2C-BUS
- Der Hardware-Adressen-Pin ermöglicht zwei Geräte auf demselben I2C-, SMBus-Bus.
- Active-Low-Reset-Eingang (/RESET)
- Sticky-Register behalten Werte bei, wenn das Gerät mit /RESET zurückgesetzt wird
- Die funktionelle I2C-Zustandsmaschine wird zurückgesetzt
- Open-Drain-Active-Low-Interrupt-Ausgang (/INT)
- Eingangs- oder Ausgangskonfigurationsregister
- Polaritätsumkehrregister
- Konfigurierbares I/O -Laufwerksstärkeregister
- 10 kΩ Pull-up und Pull-down Widerstandskonfigurationsregister
- Interne Stromversorgung nach Reset
- Anruf-Support für Software-Reset
- Rauschfilter an den SCL- oder SDA-Eingängen
- Latch-Ausgänge mit maximaler Hochstrom-Ansteuerungsfähigkeit für die direkte Ansteuerung von LEDs
- Latch-up-Leistung übertrifft 100 mA gemäß JESD 78, Klasse II
- ESD-Schutz überschreitet JESD 22
- 4.000 V Human-Body-Modell (A114-A)
- 1.000 V Charged-Device Model (C101)
Applikationen
- Server
- Router (Telekommunikations-Schaltgeräte)
- PCs
- Persönliche Elektronik
- Industrieautomatisierung
- Spielkonsolen
- Produkte mit GPIO-begrenzten Prozessoren
Vereinfachtes Schaltschema
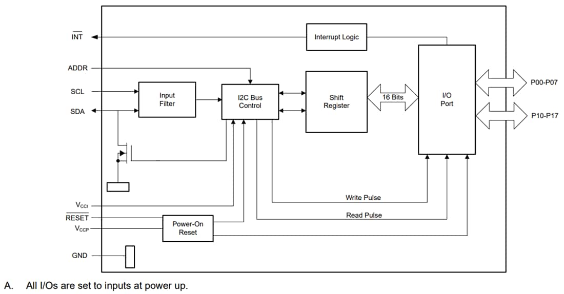
Funktionales Blockdiagramm
Veröffentlichungsdatum: 2025-08-20
| Aktualisiert: 2025-08-28
