Texas Instruments TCAL9539R/TCAL9539R-Q1 I2C-BUS/SMBus-I/O-Expander
Der I2C-BUS/SMBus-I/O-Expander TCAL9539R/TCAL9539R-Q1 von Texas Instruments bietet eine universelle Ausgangs- (I/O) und parallele Eingangs-Erweiterung für das zweidrahtige, bidirektionale SMBus- oder I2C-Bus-Protokoll und ist für einen Betrieb mit 1,08 V bis 3,6 V VCC ausgelegt. Das Gerät unterstützt I2C-Taktfrequenzen von 100 kHz (Standardmodus), 400 kHz (Schnellmodus) und 1 MHz (Schnellmodus-Plus). Die TCAL9539R/TCAL9539R-Q1 I/O-Expander bieten eine einfache Lösung, wenn zusätzliche I/Os für Sensoren, Schalter, Drucktasten, LEDs, Lüfter usw. benötigt werden.Der TCAL9539R/TCAL9539R-Q1 von Texas Instruments verfügt über agile I/O-Anschlüsse mit zusätzlichen Funktionen, die die I/O-Leistung in Bezug auf Stromverbrauch, Geschwindigkeit und EMI verbessern sollen. Zu den zusätzlichen Funktionen gehören programmierbare Pull-Up- und Pull-Down-Widerstände, eine programmierbare Ausgangstreiberstärke, verriegelbare Eingänge, Interruptstatusregister, maskierbarer Interrupt und programmierbare Open-Drain- oder Push-Pull-Ausgänge. Mit dem RESET-Pin wird die I2C-Zustandsmaschine nur dann zurückgesetzt, wenn sie hängen geblieben ist, um erneut Zugriff auf I2C zu erhalten. I/O-Pins und Sticky-Register behalten den zuletzt konfigurierten Zustand bei, während das I2C neu initialisiert wird. Die TCAL9539R-Q1 Bauteile sind AEC-Q100-qualifiziert für Fahrzeuganwendungen.
Merkmale
- Betriebsspannungsbereich von 1,08 V bis 3,6 V
- Niedriger Standby-Stromverbrauch von 1 µA typisch bei 1,8 V
- 1-MHz-Schnellmodus plus I2C-Bus
- Der Hardware-Adressen-Pin ermöglicht zwei Geräte auf demselben I2C-, SMBus-Bus.
- Active-Low-Reset-Eingang (/RESET)
- Sticky-Register behalten Werte bei, wenn das Gerät mit /RESET zurückgesetzt wird
- Die funktionelle I2C-Zustandsmaschine wird zurückgesetzt
- Open-Drain-Active-Low-Interrupt-Ausgang (/INT)
- Eingangs- oder Ausgangskonfigurationsregister
- Polaritätsumkehrregister
- Konfigurierbares I/O -Laufwerksstärkeregister
- Register zur Konfiguration von Pull-up- und Pull-down-Widerständen
- Interner Power-On-Reset
- Rauschsperre an SCL- oder SDA-Eingängen
- Latch-Ausgänge mit maximaler Hochstrom-Ansteuerungsfähigkeit für die direkte Ansteuerung von LEDs
- Latch-up-Leistung übertrifft 100 mA gemäß JESD 78, Klasse II
- ESD-Schutz überschreitet JESD 22
- 4.000 V Human-Body-Modell (A114-A)
- 1.000 V Charged-Device Model (C101)
Applikationen
- Server
- Router (Telekommunikations-Schaltgeräte)
- PCs
- Persönliche Elektronik
- Industrieautomatisierung
- Spielkonsolen
- Produkte mit GPIO-begrenzten Prozessoren
Vereinfachtes Schaltschema
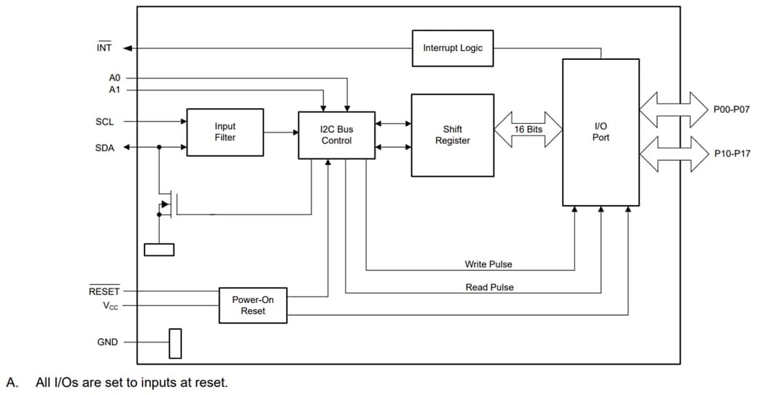
Funktionales Blockdiagramm
