Texas Instruments TMS320F280015x/TMS320F280015x-Q1 120 MHz MCUs
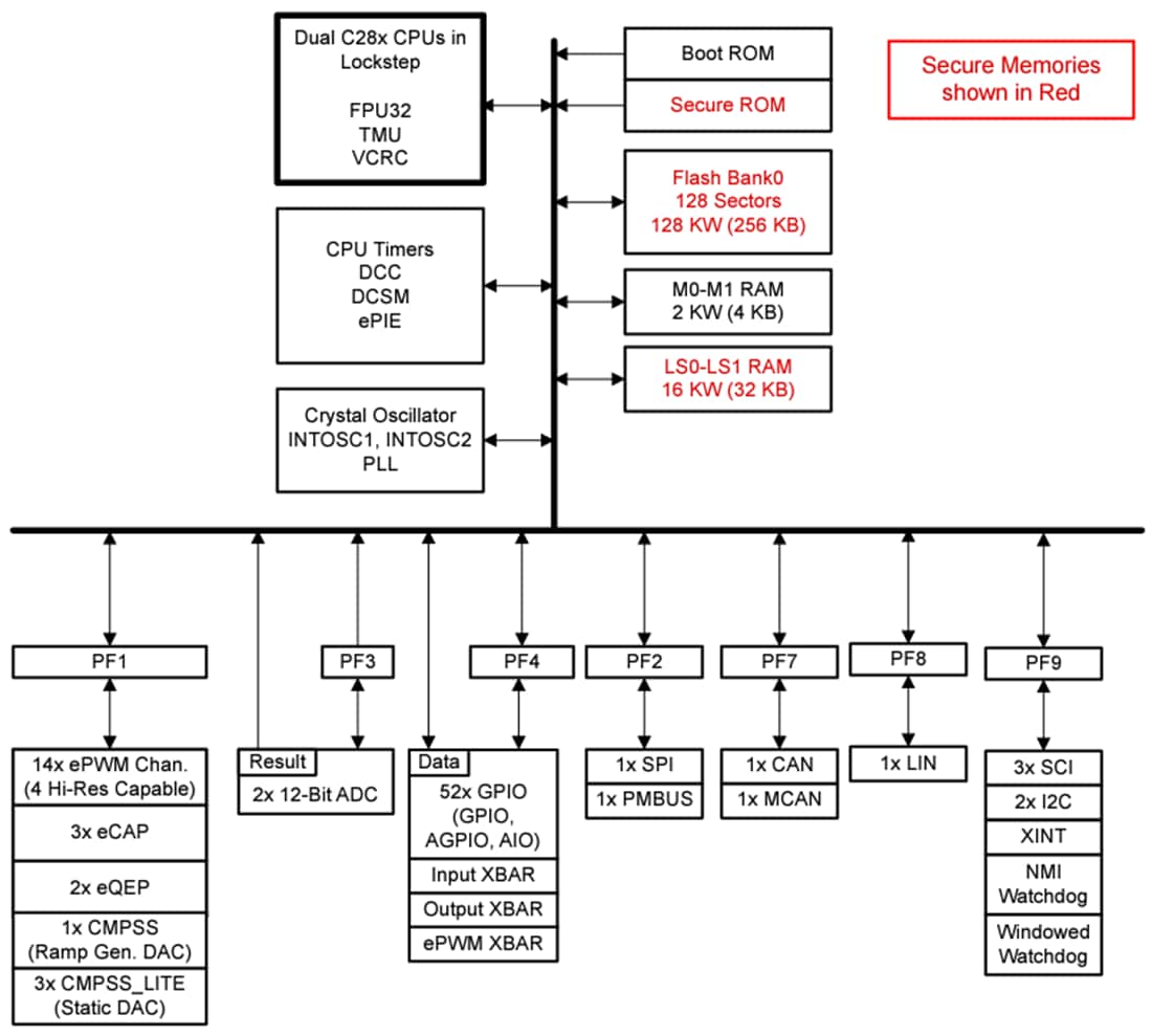
Die 32-Bit-120-MHz-Mikrocontroller (MCUs) der Baureihe TMS320F280015x/TMS320F280015x-Q1 von Texas Instruments verfügen über duale 32-Bit-C28x-CPUs im Lockstep, die es dem Bauteil ermöglichen, die funktionale ASIL-B-Sicherheitseinstufung ohne großen SW-Overhead zu erreichen. Das Subsystem zur Echtzeitsteuerung basiert auf dem C28x-32-Bit-DSP-Core von TI, welcher eine Signalverarbeitung mit 120 MHz für den Fließ- oder Festpunkt-Code bietet und entweder vom On-Chip-Flash oder SRAM betrieben wird. Die C28x-CPU wird zusätzlich durch die erweiterten Befehlssätze der trigonometrischen mathematischen Einheit (Trigonometric Math Unit, TMU) und der zyklischen Redundanzprüfung (Cyclical Redundancy Check, VCRC) verstärkt, wodurch der gängige Algorithmus-Schlüssel für Echtzeitsteuersysteme beschleunigt wird.
Der TMS320F280015x/TMS320F280015x-Q1 von Texas Instruments unterstützt bis zu 256 KB (128 KW) Flash-Speicher. Das Bauelement verfügt über bis zu 36KB (18KW) On-Chip-SRAM und ist auch zur Ergänzung des Flash-Speichers erhältlich. Hochleistungsfähige Analogblöcke sind in den Echtzeit-Mikrocontroller (MCU) F280015x/F280015x-Q1 integriert und eng mit den Verarbeitungs- und PWM-Einheiten gekoppelt, um eine optimale Leistung der Echtzeit-Signalkette zu gewährleisten. Vierzehn PWM-Kanäle ermöglichen die Steuerung verschiedener Leistungsstufen, von einem 3-Phasen-Wechselrichter bis hin zur Leistungsfaktorkorrektur und anderen fortschrittlichen Multilevel-Leistungstopologien.
Die Schnittstellenanbindung wird über verschiedene Industriestandard-Kommunikationsports (PmBus, SPI, SCI, LIN, I2C, CAN und CAN FD) unterstützt und bietet mehrere Pin-Muxing-Optionen für eine optimale Signalplatzierung. Die Bauteile des TMS320F280015x-Q1 sind nach AEC-Q100 für Anwendungen im Automobilbereich qualifiziert.
Merkmale
- 32-Bit-Lockstep dual-TMS320C28x Kern bei 120 MHz
- IEEE 754 Fließkommaeinheit (FPU)
- Trigonometric Math Unit (TMU)
- CRC-Engine und Anweisungen (VCRC)
- On-Chip-Speicher
- 256 KB (128 KW) Single-Bank-Flash (ECC-geschützt)
- 36 KB (18 KW) RAM (ECC-/Paritätsschutz)
- Dual-Zonen-Sicherheit
- Sicheres Hochfahren und JTAG-Verriegelung
- Taktgeber- und Systemsteuerung
- Zwei interne 10-MHz-Oszillatoren
- Quarzoszillator oder externer Takteingang
- Watchdog-Timer-Modul mit Fenster
- Fehlende Takterkennungsschaltung
- Dual-Takt-Komparator (DCC)
- 1,2 V Core, 3,3 V I/O-Design
- Interner VREG für 1,2 V Generierung
- Brown-Out-Reset-Schaltung (BOR)
- System-Peripherie
- 52 individuell programmierbare, gemultiplexte Universal-Ein-/Ausgangs-Pins (GPIO) (11 gemeinsam mit analog)
- Zehn Digitaleeingänge auf Analog-Pins
- Verbesserte Peripheral Interrupt Expansion (ePIE)
- Unterstützung für mehrere stromsparende Modi (LPM)
- Eindeutige Identifizierungsnummer (UID)
- Kommunikationsperipherie
- Eine Leistungsmanagement-Bus-Schnittstelle (PmBus)
- Schnittstellen: Zwei miteinander integrierte Schaltkreise (I2C)
- Ein CAN-/DCAN-Busanschluss (Controller Area Network, CAN/DCAN)
- Ein Controller-Area-Netzwerk mit flexiblem Datenraten-Busanschluss (CAN-FD/MCAN)
- Eine serieller Peripherieschnittstellen-Anschluss (SPI)
- Drei UART-kompatible serielle Kommunikationsschnittstellen (SCI)
- Eine UART-kompatible LIN-Schnittstelle (Local Interconnect Network)
- Analogsystem
- Zwei 4 MSPS, 12-Bit-Analog-Digital-Wandler (ADCs)
- Bis zu 21 externe Kanäle (11 gemeinsam mit GPIO)
- Vier integrierte Nachbearbeitungsblöcke (PPB) pro ADC
- Ein Komparator mit Fenster (CMPSS) mit 12-Bit-Referenz-Digital-Analog-Wandlern (DACs)
- Digitale Störfilter
- COMPDACOUT (11-Bit)
- Drei Komparatoren mit Fenster (CMPSS_LITE) mit effektiven 9,5-Bit-Referenz-DACs
- Zwei 4 MSPS, 12-Bit-Analog-Digital-Wandler (ADCs)
- Verbesserte Steuerungsperipherie
- 14 ePWM-Kanäle mit vier Kanälen, die über eine hohe Auflösungsfähigkeit (150 ps Auflösung) verfügen
- Integrierte Totband-Unterstützung
- Integrierte Hardware-Auslösezonen (TZs)
- Drei eCAP-Module (Enhanced Capture)
- Zwei erweiterte eQEP-Module (Enhanced Quadrature Encoder Pulse, eQEP) mit Unterstützung für CW/CCW-Betriebsmodi
- Embedded-Mustergenerator (EPG)
- 14 ePWM-Kanäle mit vier Kanälen, die über eine hohe Auflösungsfähigkeit (150 ps Auflösung) verfügen
- CMAC-Schlüssel (128-Bit) für SW AES
- Diagnosefunktionen
- Speicher-Einschalt-Selbsttest (MPOST)
- Für die funktionale Sicherheit ausgelegt
- Für funktionale Sicherheitsapplikationen ausgelegt
- Dokumentation zur Unterstützung des Systemdesigns gemäß ISO 26262 und IEC 61508 wird verfügbar sein
- Systematische Fähigkeit bis zu ASIL D und SIL 3 ausgerichtet
- Hardware-Fähigkeit bis zu ASIL B und SIL 2 ausgerichtet
- Sicherheitsbezogene Zertifizierung
- ISO 26262 und IEC 61508 Zertifizierung bis zu ASIL B und SIL 2 durch TÜV SÜD geplant
- Gehäuseoptionen
- 80-Pin-Quad-Flatpack (LQFP) mit niedrigem Profil [PN-Suffix]
- 64-Pin-LQFP [PM-Suffix]
- Thermisch verbessertes dünnes 48-Pin-PowerPAD™-Quad-Flatpack (HLQFP) [PHP-Suffix]
- Sehr dünnes 32-Pin-Quad-Flatpack ohne Anschlusskabel (VQFN) [RHB-Suffix]
- Umgebungstemperatur (T A) (siehe Bauteilinformationstabelle und Bauteilvergleich)
- F280015xS, F280015xQ Bauteile: -40 °C bis 125 °C
- F280015xE Bauteile: -40 °C bis 150 °C
Applikationen
- Fahrzeuganwendungen
- ADAS
- Radar-ECU
- Mechanisches Scannen von LIDAR
- Karosserieelektronik und Beleuchtung
- Türmodul
- Kofferraummodul
- Fenstermodul
- Bordnetzsteuermodul (BSG)
- HLK-Kompressormodul
- HLK-Steuerungsmodul
- Innenheizungsmodul
- Scheinwerfer
- Sitzkomfort-Modul
- Sitzpositions- und Faltmodul
- Lenkradsteuerung
- DC/AC-Wechselrichter
- DC/DC-Wandler mittlerer Leistung
- ADAS
- Hybrid-, Elektro- und Antriebsstrangsysteme
- Batteriemanagementsystem (BMS)
- DC/DC-Wandler
- Wechselrichter und Motorsteuerung
- On-Board(OBC)- und drahtloses Ladegerät
- Fahrzeugsteuereinheit (VCU)
- Virtual-Engine-Soundsystem (VESS)
- Motorlüfter
- eTurbo/Ladegerät
- Pumpe
- Automatikgetriebe
- Elektrische Servolenkung (EPS)
- Infotainment- und Kombi-Systeme
- Head-up-Display
- Telematik-Steuereinheit
- Automotive-Haupteinheit
- Audioverstärker für den Nachrüstmarkt
- Aktive Automotive-Rauschunterdrückung
- Externer Automotive-Verstärker
- Batteriemanagementsystem (BMS)
- Industrieapplikationen
- Motorantriebe
- AC-Antriebssteuerungsmodul
- AC-Antriebs-Leistungsstufenmodul
- Servoantrieb-Steuermodul
- Servoantrieb-Leistungsstufenmodul
- Fabrikautomatisierung und -steuerung
- Mobile Roboter-Motorsteuerung
- Telekommunikations- und Serverleistung
- Merchant-DC/DC
- Merchant-Netzwerk und Server-PSU
- Merchant-Telekommunikationsgleichrichter
- UPS
- Dreiphasige USV
- Einphasen-Online-USV
- Motorantriebe
Funktionales Blockdiagramm
