Texas Instruments TPS544C26 Synchroner Abwärtswandler

Der Texas Instruments TPS544C26 synchrone Abwärtswandler ist ein hochintegrierter Abwärtswandler mit D-CAP+-Steuertopologie für ein schnelles Einschwingverhalten. Alle programmierbaren Parameter können über die I2C-Schnittstelle konfiguriert und im NVM als neue Standardwerte gespeichert werden, um die Anzahl externer Komponenten zu reduzieren. Diese Merkmale machen das Gerät gut geeignet für Applikationen mit beschränktem Platz. Das TPS544C26 Bauteil ist für den Betrieb mit den CPUs von Intel ausgelegt und eignet sich hervorragend für einphasige SVID-Schienen mit niedrigem bis mittlerem Stromverbrauch in Server und SoC-Plattformen von Intel.

Fehlermanagement und Statusberichte für die Überstromgrenze, VOUT-OVF /UVF und -OTF werden auf dem Bauteil bereitgestellt. Das TPS544C26 Bauteil bietet einen vollständigen Telemetriesatz, einschließlich VOUT, IOUT und IC-Temperatur. Zusätzlich wird eine Überwachung der Eingangsleistung durch einen externen Messwiderstand für das Leistungsmanagement auf Boardebene bereitgestellt. Das TPS544C26 Bauteil von Texas Instruments ist bleifrei und ohne Ausnahme RoHS-konform.

Merkmale

  • Einzelchip-Stromversorgung für SVID-Schienen
  • Intel VR13 SVID-konform
  • I2C-Schnittstelle mit NVM für Konfiguration, Telemetrie (V/I/T) und Fehlermeldung
  • Eingangsleistungsüberwachung für DDR5-Speicher-RAPL
  • Integrierte 4,0-mΩ- und 1,0-mΩ-MOSFETs für einen Dauerstrombetrieb von 35 A
  • Unterstützt eine externe Vorspannung von 5 V zur Verbesserung des Wirkungsgrads und ermöglicht eine Eingangsspannung von mindestens 2,7 V
  • VOUT-programmierbar von 0,25 V bis 3,04 V
  • Präzise Spannungsreferenz und differenzielle Fernabtastung für eine hohe Ausgangsgenauigkeit
    • VOUT-Toleranz von ±0,5 % von 0 °C bis +85 °C TJ
    • VOUT-Toleranz von ±1 % von -40 °C bis +125 °C TJ
  • D-CAP+™-Steuertopologie mit schnellem Einschwingverhalten, die alle Keramikausgangskondensatoren unterstützt
  • Programmierbare interne Schleifenkompensation, einschließlich Regeldifferenz
  • Wählbare Zyklus-für-Zyklus-Talstromgrenze
  • Wählbare Betriebsfrequenz von 0,6 MHz bis 1,2 MHz mit DCM- oder FCCM-Betrieb
  • Sicheres Hochfahren in vorgespannte Ausgänge
  • Programmierbare Sanftanlauf-Zeit von 1 ms bis 16 ms
  • Programmierbare Sanftstopp-Zeit von 0,5 ms bis 4 ms
  • Open-Drain-Power-Good-Ausgang (VRRDY) und Anzeige katastrophaler Fehler (CAT_FAULT #)
  • Programmierbarer Überstrom-, Überspannungs-, Unterspannungs- und Übertemperaturschutz
  • 37-Pin-WQFN-FCRLF-Gehäuse von 5 mm x 6 mm

Applikationen

  • Server- und Cloud-Computing-POLs
  • Hardwarebeschleuniger
  • Netzwerk-Schnittstellenkarte

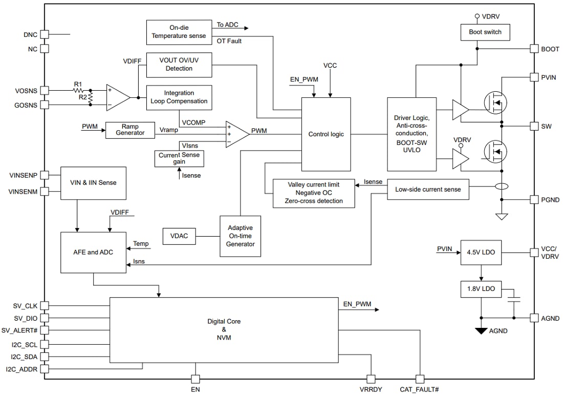
Funktionales Blockdiagramm

Blockdiagramm - Texas Instruments TPS544C26 Synchroner Abwärtswandler
Veröffentlichungsdatum: 2022-10-26 | Aktualisiert: 2023-05-02