Texas Instruments TPS653853A-Q1/TPS653854A-Q1 Netzteil
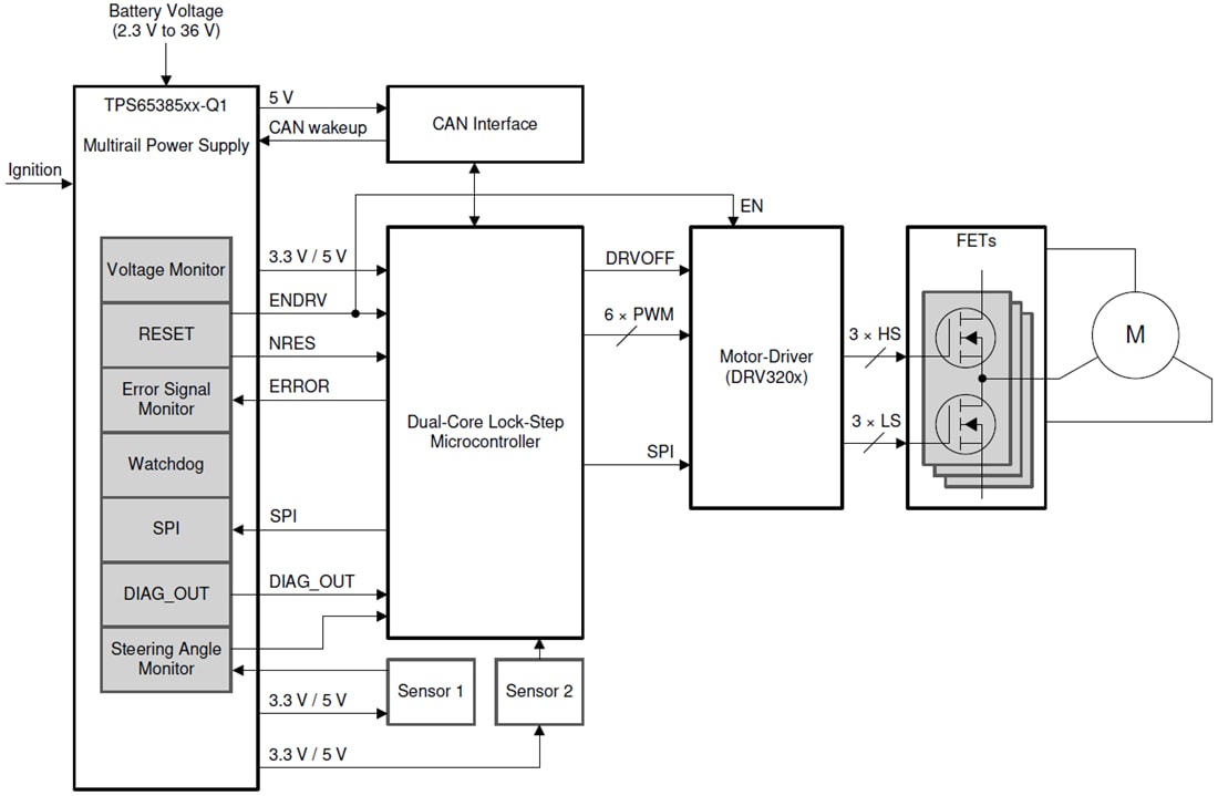
Das Multi-Rail-Netzteil TPS653853A-Q1/TPS653854A-Q1 von Texas Instruments ist für die Versorgung von Mikrocontrollern in sicherheitsrelevanten Applikationen wie z. B. in der Automobilindustrie konzipiert. Das Bauelement unterstützt funktionale Sicherheits-Mikrocontroller mit Dual-Core-Lockstep (LS) und anderen Multi-Core-Architekturen. Der TPS653853A-Q1/TPS653854A-Q1 verfügt über mehrere Versorgungsschienen zur Stromversorgung der MCU, von CAN oder FlexRay und externen Sensoren. Mit internen FETs wandelt ein Abwärts/Aufwärtswandler die Eingangsspannung der Batterie zwischen 2,3 V und 36 V in einen 6-V-Vorreglerausgang um, der die anderen Regler versorgt. Eine integrierte Ladungspumpe bietet eine Overdrive-Spannung für die internen Regler und kann auch dazu verwendet werden, einen externen NMOS-FET als Batterieverpolungsschutz anzusteuern. Das Bauelement unterstützt das Aufwecken durch ein Zündsignal (IGN-Pin), einen CAN- Einschwinger-Prüfkopf oder ein anderes Signal (CAN_WU-Pin).Die Bauelement verfügt über eine Lenkwinkelüberwachungseinheit (SAM), die es dem Steuergerät ermöglicht, die Position des Lenkrads indirekt über die Motorpositionssensoren zu erfassen. Ein spezieller Stromsparmodus ermöglicht den Betrieb dieses SAM-Geräts auch dann, wenn sich das Steuergerät im Ruhemodus befindet. Integrierte SAM-Schalter ermöglichen die Weiterleitung der Motor-Positionssensor-Signale an die MCU im Normalbetrieb oder die Entkopplung der ADC-Eingänge der MCU von den Motor-Positionssensor-Signalen, wenn sich das Steuermodul im Sleep-Modus befindet.
Eine unabhängige Spannungsüberwachungseinheit im Bauelement überwacht Unter- und Überspannungen auf allen internen Versorgungsschienen und Reglerausgängen der Batterieversorgung. Strombegrenzungen und Temperaturschutzfunktionen des Reglers sind ebenfalls implementiert. Der TPS653853A-Q1/TPS653854A-Q1 verfügt über einen Frage-Antwort-Watchdog, eine MCU-Fehlersignalüberwachung, eine Taktüberwachung des internen Oszillators, eine Selbstüberprüfung der Taktüberwachung, eine zyklische Redundanzprüfung (CRC) des nichtflüchtigen Speichers und der SPI-Kommunikation. Er verfügt außerdem über einen Diagnose-Ausgangs-Pin, der es der MCU ermöglicht, die internen analogen und digitalen Signale des Bauelements zu beobachten, einen Reset-Schaltkreis für die MCU (NRES-Pin) und einen Sicherheitsausgang (ENDRV-Pin), um externe Leistungsstufen bei einem erkannten Systemausfall zu deaktivieren. Das Bauteil führt beim Einschalten automatisch einen integrierten Selbsttest (BIST) aus und der MCU kann gegebenenfalls den BIST während der Systemlaufzeit über die Softwaresteuerung erneut ausführen. Ein dedizierter DIAGNOSTIC-Status ermöglicht es dem MCU, den Funktionsumfang des TPS653853A-Q1/TPS653854A-Q1 zu überprüfen.
Der TPS653853A-Q1/TPS653854A-Q1 von Texas Instruments verfügt auch über eine Fehlermeldefunktion über das SPI-Register. Das Bauelement verfügt über separate Statusbits im SPI-Register für jeden spezifischen Fehler auf System- oder Bauelementeebene. Wenn das Bauteil einen bestimmten Fehlerzustand erkennt, legt es das geeignete Status-Bit fest und hält dieses Status-Bit so lange fest, bis der MCU das SPI-Register ausliest, in das dieses Status-Bit eingestellt wurde. Je nachdem, welches Statusbit gesetzt wurde, kann die MCU entscheiden, ob sie das System in einem sicheren Zustand halten muss oder ob sie den Betrieb des Systems wieder aufnehmen kann. Die TPS653853A-Q1/TPS653854A-Q1 Bauteile sind für Fahrzeuganwendungen AEC-Q100-qualifiziert.
Merkmale
- Für Fahrzeuganwendungen zugelassen
- Mit den folgenden Ergebnissen AEC-Q100-qualifiziert:
- Bauelementtemperaturklasse 1 (-40 °C bis +125 °C Umgebungsbetriebstemperatur)
- Bauelement HBM ESD Klassifizierungsstufe 2
- CDM-ESD-Bauteilklassifikation Stufe C4B
- Eingangsspannungsbereich
- 7 bis 36 V für anfängliche Batterieeinschaltung
- 4 bis 36 V volle Funktionalität nach anfänglicher Batterieeinschaltung
- Mindestens 2,3 V während des Betriebs nach Aktivierung
- Versorgungsschienen (mit internen FETs)
- Synchroner 6-V-Auf-/Abwärts-Vorregler
- 5 V, 285 mA LDO (CAN, Peripheriegeräte oder ADC REF 1 % Genauigkeit mit 20 bis 120 mA Last)
- 3,3 V oder 5 V, 350 mA LDO (MCU) TPS653853A-Q1
- 3,3 V 350 mA oder 5 V 500 mA LDO (MCU) TPS653854A-Q1
- 2 für Sensorversorgung oder Peripherie geschützte LDOs
- 120 mA für Sensorversorgung 1 (VSOUT1), 100 mA für Sensorversorgung 2 (VSOUT2)
- Konfigurierbarer Tracking-Modus (Tracking-Eingangspin) oder feste Ausgangsspannung von 3,3 V oder 5 V
- Kurzschluss-zu-Masse- und Batterieschutz
- Ladungspumpe: min. 6 V, max. 11 V über der Batteriespannung
- Überwachung und Schutz
- Unabhängige Unter- und Überspannungsüberwachung auf allen Reglerausgängen, Batteriespannungen und internen Versorgungen
- Spannungsüberwachungs-Schaltung, einschließlich unabhängige Bandlückenreferenz, werden von einem separaten Batteriespannungs-Eingangspin versorgt
- Selbstüberprüfung auf allen Spannungsüberwachungen (wird während des Einschaltens und nach dem Einschalten durch einen externen MCU ausgelöst)
- Alle Netzteile sind mit Strombegrenzung und Übertemperaturvorwarnung und -abschaltung geschützt
- Lenkwinkel-Überwachung (SAM)
- Zwei Signalkomparatoren für Positionssensorsignale
- Umdrehungszähler
- Energiesparmodus mit periodischer Abtastung der LPositionssensorsignale
- Schalter für die Durchleitung von Sensorsignalen zur MCU
- Mikrocontroller-Schnittstelle
- Watchdog-Funktion mit offenem und geschlossenem Fenster und Frage-Antwort-Watchdog-Funktion
- Überwachung für Funktionssicherheits-MCU-Fehlerausgang (PWM oder Pegel), MCU-Fehlersignalüberwachung
- Diagnose-Status für die Durchführung von Selbsttests und Systemdiagnosen des Bauteils
- Sicherer Zustand für Bauteil und Systemschutz bei erkanntem Systemausfall
- Taktüberwachung für den internen Oszillator
- Integrierter Analog- und Logik-Selbsttest
- CRC auf nichtflüchtigem Speicher und Bauteil- und Systemkonfigurations-Register sowie SPI-Kommunikationen
- Reset-Schaltung für MCU
- Diagnoseausgangs-Pin
- SPI mit CRC auf Befehl mit Daten
- Fehlermeldung über SPI-Register für Fehler auf System- und Bauelementebene
- Freigabe-Antriebsausgang für die Deaktivierung von externen Leistungsstufen auf allen erkannten Systemfehlern
- Aktivierung über IGN-Pin (Zündung) oder CAN_WU-Pin (Transceiver oder andere Funktion)
- 48-Pin-HTSSOP-PowerPAD™-IC-Gehäuse
Applikationen
- Sicherheitsrelevante Automotive-Applikationen
- Sicherheitsrelevante Industrieapplikationen
Typisches Applikationsdiagramm
