Texas Instruments TPSM82866C Step-Down MagPack™ Leistungsmodul
Das Leistungsmodul Step-Down MagPack™ Power Module TPSM82866C von Texas Instruments ist ein ultrakleines Step-Down-Modul mit 6 A, einer integrierten Induktivität und I2C-Schnittstelle. Dieses Modul verfügt über einen Eingang mit 5,5 V in einem MagPack-Gehäuse mit Abmessungen von nur 2,3 mm x 3 mm und liefert eine Leistungsdichte von fast 1 A auf einer Fläche von 1 mm2. Die MagPack-Technologie von TI integriert einen synchronen Abwärtswandler mit einer Drosselspule, um Designs zu vereinfachen, Leiterplattenfläche zu sparen und externe Komponenten zu reduzieren. Die Schnittstelle I2C bietet eine effektive Möglichkeit, die Ausgangsspannung einzustellen, die Rampenrate von VOUT beim Übergang zu einem neuen Sollwert festzulegen und Statusinformationen wie thermische Warnungen oder Strombegrenzungs-Statusflags zu lesen. Übertemperatur- und Hiccup-Kurzschlussschutz sorgen für ein robustes und zuverlässiges Design. Das Step-Down MagPack Leistungsmodul TPSM82866C von Texas Instruments ist kompakt und effizient und damit ideal für die automatisierte Montage mit Standardgeräten für die Oberflächenmontage.Merkmale
- Wirkungsgrad von bis zu 96 %
- Hervorragende thermische Eigenschaften
- I2C-kompatible Schnittstelle mit bis zu 3,4 Mbps
- I2C-programmierbar
- Ausgangsspannung
- 0,4: 1,675 V in Schritten von 5 mV
- 0,8: 3,35 V in Schritten von 10 mV
- Erzwungener PWM- oder Energiesparmodus
- Ausgangsentladung
- Ausgangsspannung
- I2C-Rücklesbarkeit von Gerätestatus für
- Thermische Warnung
- Hiccup-Strombegrenzung
- Vin unter UVLO
- Widerstand wählbar
- I2C-Adresse
- 16 Optionen für die Start-Ausgangsspannung
- Genauigkeit der Ausgangsspannung von 1 %
- DCS-Steuerungstopologie für schnelles Einschwingverhalten
- Betriebsruhestrom von 4 µA
- Optimiert für niedrige EMI-Anforderungen
- Kein Bonddrahtpaket
- MagPack-Technologie schirmt Induktor und IC ab
- Vereinfachtes Layout durch optimierte Pinbelegung
- -40 °C bis +125 °C Betriebstemperaturbereich
- QFN-Gehäuse mit Abmessung von 2,3 mm x 3 mm x 1,95 mm
- Entwurfsgröße: 28 mm2
Applikationen
- Kernversorgung für FPGAs, CPUs und ASICs
- Optische Module
- Medizinische Bildverarbeitung
- Fabrikautomatisierung und -steuerung
- Luft- und Raumfahrt und Verteidigung
Typisches Anwendungsschema
Wirkungsgrad
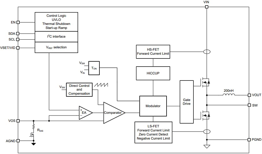
Funktionales Blockdiagramm
Weitere Ressourcen
Veröffentlichungsdatum: 2024-07-18
| Aktualisiert: 2025-01-29
