Texas Instruments TSD5402-Q1 Sensor-Treiberverstärker der Klasse D

Der Texas Instruments TSD5402-Q1 Sensor-Treiberverstärker der Klasse D eignet sich hervorragend für Fahrzeuganwendungen und Industrieapplikationen. Diese Applikationen umfassen, sind aber nicht beschränkt auf Resolver-basierte Motorsteuerung, Bremssysteme, elektrische Servolenkung, Servos und Flugsteuerungsflächen. Der TSD5402-Q1 von Texas Instruments verfügt über einen großen Betriebsspannungsbereich und einen hervorragenden Wirkungsgrad, wodurch er sich hervorragend für Applikationen eignet, die Design-Flexibilität erfordern. Der integrierte Lastabfallschutz reduziert die Kosten und die Größe externer Spannungsklemmen, und die integrierte Lastdiagnose meldet den Laststatus über I2C. Die integrierte Diagnose von Kurzschluss und offener Last ermöglicht es Systemen, externe Implementierungen zu vermeiden.

Merkmale

  • AEC-Q100-qualifiziert für Fahrzeuganwendungen mit einer Temperaturklasse 1 von -40 °C bis +125 °C, TA
  • Digitaler Mono-BTL-Leistungsverstärker
  • 8 W Ausgangsleistung bei 10 % THD+N in 4 Ω
  • 4,5 V bis 18 V Betriebsbereich
  • Wirkungsgrad von 83 % zu 4 Ω
  • Differenzieller Analogeingang
  • Power-Guard-Schutz (einstellbarer Spannungsbegrenzer)
  • Unterdrückungsverhältnis der Stromversorgung (PSRR) von 75 dB
  • Lastdiagnosefunktionen
    • Offene und kurzgeschlossene Ausgangslast
    • Ausgangs-zu-Leistungs- und Ausgangs-zu-Masse-Kurzschlüsse
  • Schutz- und Überwachungsfunktionen
    • Kurzschluss-Sicherung
    • Lastabwurfsicherung gemäß ISO-7637-2 von 40 V
    • Erkennung des DC-Pegels am Ausgang
    • Übertemperaturschutz
    • Überspannungs- und Unterspannungsschutz
  • Thermisch verbessertes 16-Pin-HTSSOP-Gehäuse (PWP) mit PowerPAD™ (Pad-Down)
  • Für EMC-Anforderungen im Automobilbereich ausgelegt
  • ISO9000: 2002 TS16949-zertifiziert
  • Schutz vor Lastabwurf im Standby-Modus von 40 V
  • Nicht blockierender I2C im Standby

Applikationen

  • Resolver-basierte Fahrzeuganwendungen und Industrieapplikationen
  • HEV/EV-Wechselrichter und Motorsteuerung
  • Elektrische Servolenkung (EPS)
  • Rückspiegelmodul
  • Automotive-eMirrors
  • Servoantrieb-Leistungsstufenmodul
  • Flugsteuerungssystem

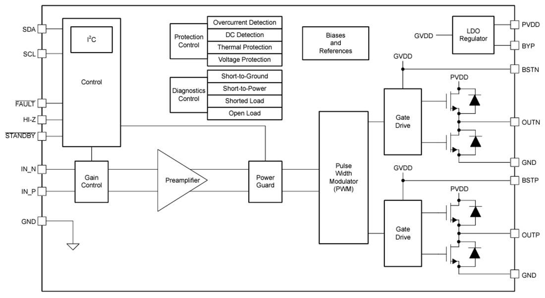
Funktionales Blockdiagramm

Blockdiagramm - Texas Instruments TSD5402-Q1 Sensor-Treiberverstärker der Klasse D
Veröffentlichungsdatum: 2024-10-30 | Aktualisiert: 2025-05-09