Texas Instruments TUSB542 USB-Typ-C-5GBit/s-Redriver
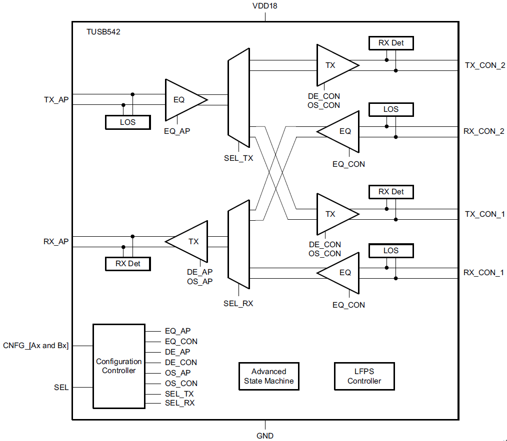
Texas Instruments TUSB542 USB-Typ-C 5Gbit/s-Redriver ist ein USB 3.1 Zweikanal-Redriver der 1. Generation, der USB Typ-C Steckerverbinder unterstützt. Dieses Gerät bietet eine Signalaufbereitung und die Fähigkeit, USB SS-Signale für den USB Typ C umkehrbare Steckverbinder zu schalten. Der TUSB542 kann über den SEL-Kontakt mit einem externen Konfigurationskanal-Logik-Controller gesteuert werden, um die Signale entsprechend zu multiplexen. Der TUSB542 enthält eine Empfänger-Equalisation und eine Übertragungsentzerrung, um die Signalqualität auf beiden Übertragungs- und Empfänger-Datenpfaden zu erhalten. Die Empfänger-Equalisation bietet mehrere Verstärkungseinstellungen, um Kanalleistungseinbussen durch Einfügungsdämpfung und Inter-Symbol-Störungen zu überwinden. Der Ausgangstreiber unterstützt eine Entzerrungskonfiguration, um Verluste bei nachgeschalteten Übertragungsleitungen auszugleichen. Zusätzlich ermöglicht die automatische LFPS-Entzerrungssteuerung eine vollständige Konformität.Merkmale
- Bietet USB 3.1-5GBit/s-Superspeed (SS) 2:1 MUX der 1. Gen. für einen USB-Typ-C™-Anschluss
- Unterstützt USB-Typ-C-Kabel- und Steckverbinder-Spezifikationen
- Architektur mit extrem geringem Stromverbrauch
- Aktiv 100 mA
- U2/U3 1,3 mA
- Keine Verbindung 300 µA
- Auswählbare Entzerrung bis zu 9 dB; Entzerrung und Ausgangsschwingung bis zu 6 dB
- Integrierter Endenabschluss
- RX-Erkennungsfunktion
- Signalüberwachung für Energiemanagement
- Keine Host-/Bauteil-Seitenanforderung – unterstützt USB-C-DFP-, UFP- oder DRP-Anschluss
- Einzelversorgungsspannung: 1,8 V ±10 %
- Industrieller Temperaturbereich von -40 °C bis 85 °C
Applikationen
- USB 3.1 Gen. 1 SS-Applikation
- Telefone
- Tablets, Phablets und Notebooks
- Dockingstationen
Funktionales Blockdiagramm
Veröffentlichungsdatum: 2016-06-01
| Aktualisiert: 2022-03-11
