Texas Instruments TXS0104V/TXS0104V-Q1 4-Bit-Spannungsumsetzer
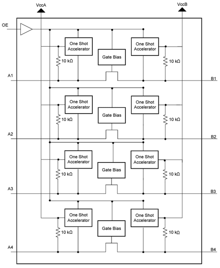
Die 4-Bit-Pegelverschiebungs-Spannungsumsetzer TXS0104V/TXS0104V-Q1 von Texas Instruments sind nicht-invertierende Umsetzer, die zwei separat konfigurierbare Stromversorgungsschienen verwenden. Der A-Anschluss ist zur Verfolgung von VCCA ausgelegt, die jede Versorgungsspannung von 1,65 V bis 3,6 V akzeptiert und kleiner oder gleich VCCB sein muss. Der B-Anschluss ist zur Verfolgung von VCCB ausgelegt, die jede Versorgungsspannung von 2,3 V bis 5,5 V akzeptiert. Diese Funktion ermöglicht eine bidirektionale Niederspannungs-Umsetzung zwischen 1,8 V, 2,5 V, 3,3 V und 5 V Spannungsknoten.Wenn der Ausgangsfreigabe-Eingang (OE) niedrig ist, werden alle Ausgänge in den hochohmigen Zustand versetzt. Das Bauelement TXS0104V/TXS0104V-Q1 ist so ausgelegt, dass die OE-Eingangsschaltung von VCCA versorgt wird. Für den Zustand mit hoher Impedanz während des Ein- oder Ausschaltens müssen OE an GND über einen Pull-Down-Widerstand verbunden werden; die Stromquellenfähigkeit des Treibers bestimmt den Mindestwert des Widerstands. Die Bauteile TXS0104V-Q1 sind gemäß AEC-Q100 für Fahrzeuganwendungen zugelassen.
Merkmale
- Benötigt kein Richtsteuersignal
- Maximale Datenraten
- 24 Mbps (Push-Pull)
- 2 Mbps (open-drain)
- 1,65 V bis 3,6 V auf A-Anschluss und 2,3 V bis 5,5 V auf B-Anschluss (VCCA ≤ VCCB)
- Es ist keine Sequenzierung der Stromversorgung erforderlich. Entweder kann VCCA oder VCCB zuerst hochgefahren werden.
- Latch-Up-Leistung übertrifft 100 mA gemäß JESD 78, Klasse II
- ESD-Schutz überschreitet JESD 22
- A-Anschluss
- 2.000 V Human-Body Model (A114-B)
- 500 V Charged-Device Model (C101)
- B-Anschluss
- 5.000 V Human-Body Model (A114-B)
- 500 V Charged-Device Model (C101)
- A-Anschluss
Applikationen
- Handapparat
- Smartphone
- Tablet
- Desktop-PC
Funktionales Blockdiagramm
Veröffentlichungsdatum: 2024-11-07
| Aktualisiert: 2025-05-09
