Texas Instruments Isolierter Einkanal-Gate-Treiber UCC21717-Q1
Der isolierte Einkanal-Gate-Treiber UCC21717-Q1 von Texas Instruments ist für SiC-MOSFETs und IGBTs von bis zu 1.700 V ausgelegt. Er bietet fortschrittlichen integrierten Schutz, eine überragende dynamische Leistung und Robustheit. UCC21717-Q1 verfügt über einen Quellen- und Senkenstrom von bis zu ±10 A. Die Eingangsseite ist von der Ausgangsseite mit der kapazitiven IsolationstechnologieSiO2 isoliert, die eine Betriebsspannung von bis zu 1,5kVRMS, eine Überspannungsfestigkeit von 12,8kVPK mit einer Lebensdauer der Isolationsbarriere von mehr als 40 Jahren sowie einen geringen Teil-zu-Teil-Versatz und eine Gleichtakt-Rauschimmunität (CMTI) von > 150 V/ns bietet.Der UCC21717-Q1 von Texas Instruments umfasst die neuesten Schutzfunktionen, beispielsweise schnelle Überstrom- und Kurzschlusserkennung, Shunt-Strommessung, Fehlermeldung, aktive Miller-Klemme sowie eingangs- und ausgangsseitige Stromversorgungs-UVLO zur Optimierung des SiC- und IGBT-Schaltverhaltens und der Robustheit. Der isolierte Analog-PWM-Sensor kann für eine einfachere Temperatur- oder Spannungserfassung verwendet werden, wodurch die Vielseitigkeit der Treiber erhöht und Aufwand, Größe und Kosten des Systemdesigns vereinfacht werden.
Merkmale
- Isolierter Einkanal-Gate-Treiber mit 5,7kVRMS
- AEC-Q100-qualifiziert für Fahrzeuganwendungen
- Bauteiltemperatur Klasse 0 (-40 °C bis +150 °C Umgebungsbetriebstemperaturbereich)
- HBM-ESD-Bauteilklassifikation Stufe 3A
- CDM-ESD-Bauteilklassifikation Stufe C6
- Qualitätsverwaltete funktionale Sicherheit
- Dokumentation zur Unterstützung des Designs von funktionalen Sicherheitssystemen ist verfügbar
- SiC-MOSFETs und IGBTs bis zu 2.121Vpk
- Maximale Ausgangsspannung (VDD-VEE) von 33 V
- Antriebsstärke und geteilter Ausgang: ±10 A
- Mindestens 150 V/ns CMTI
- Schneller Überstromschutz mit Anschwingzeit von 270 ns
- Interne aktive Miller-Klemme von 4 A
- Sanftes Ausschalten unter Fehlerbedingungen von 400 mA
- Isolierter analoger Sensor mit PWM-Ausgang für
- Temperaturmessung mit NTC-, PTC- oder thermischer Diode
- Hochspannungs-DC-Link oder Phasenspannung
- Alarm-FLT an Überstrom und Reset von RST/EN
- Das Deaktivieren des Bauteils mit RST/EN löst ein sanftes Ausschalten aus
- Unterdrückt Rauschtransienten von < 40 ns und Impulse auf den Eingangspins
- 12 VVDD UVLO mit Power-Good auf dem RDY
- Ein-/Ausgänge mit Über-/Unterschwingungs-Transientenspannungsfestigkeit bis zu 5 V
- Ausbreitungsverzögerung von 130 ns (max.) und Impuls-/Teileversatz von 30 ns (max.)
- SOIC-16-DW-Gehäuse mit Kriechstrecke und Luftstrecke von > 8 mm
- Sperrschicht-Betriebstemperatur: -40 °C bis +150 °C
Applikationen
- Traktionswechselrichter für EVs
- On-Board-Ladegerät und -Ladestapel
- DC/DC-Wandler für HEV/EVs
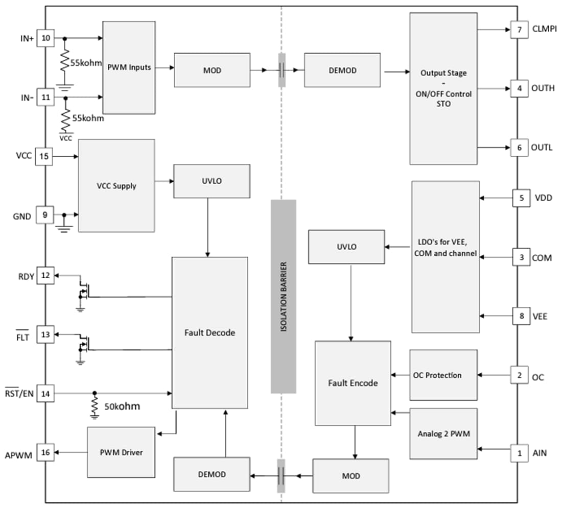
Funktionales Blockdiagramm
Veröffentlichungsdatum: 2023-08-28
| Aktualisiert: 2025-03-06
