Texas Instruments SN75LVDS83B Flatlink™ Transmitters

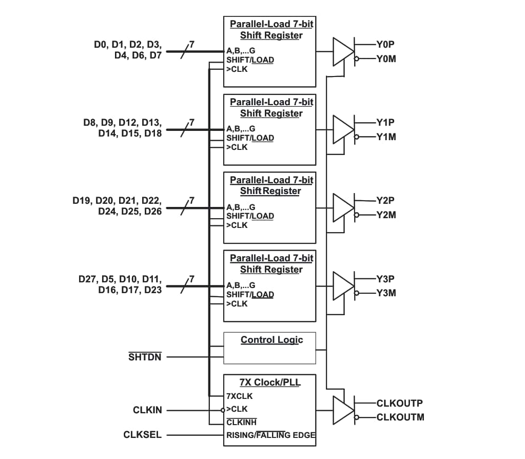
Texas Instruments SN75LVDS83B FlatLink™ Transmitter is the first LVDS serializer that connects directly to 1.8V powered processors, eliminating a costly level shifter, lowering cost, and reducing board space by up to 83 percent. This TI device contains four 7-bit parallel-load serial-out shift registers, a 7X clock synthesizer, and five Low-Voltage Differential Signaling (LVDS) line drivers in a single integrated circuit. The SN76LVDS83B FlatLink transmitter allows 28 bits of single-ended LVTTL data to be synchronously transmitted over five balanced-pair conductors for receipt by a compatible receiver or LCD panels with integrated LVDS receiver. This Texas Instruments FlatLink transmitter provides a Transfer Rate up to 135Mpps and a Pixel Clock Frequency Range of 10MHz to 135MHz. The SN75LVDS83B operates from a single 3.3V supply and 170mW at 75MHz. It is ideal for LCD Display Panel Drive, UMPC and Netbook PC, and a digital picture frame.

Features

  • LVDS Display Series Interfaces Directly to LCD 
  • Display Panels With Integrated LVDS
  • Package Options: 4.5mm × 7mm BGA, and 8.1mm × 14mm TSSOP
  • 1.8V Up to 3.3V Tolerant Data Inputs to Connect 
  • Directly to Low-Power, Low-Voltage Application, and Graphic Processors
  • Transfer Rate up to 135Mpps (Mega Pixel Per Second); 
  • Pixel Clock Frequency Range 10MHz to 135MHz
  • Suited for Display Resolutions Ranging From HVGA up to HD With Low EMI
  • Operates From a Single 3.3V Supply and 170mW (Typ.) at 75MHz
  • 28 Data Channels Plus Clock in Low-Voltage TTL to 4 
  • Data Channels Plus Clock Out Low-Voltage Differential
  • Consumes Less Than 1mW When Disabled
  • Selectable Rising or Falling Clock Edge Triggered Inputs
  • ESD: 5kV HBM
  • Support Spread Spectrum Clocking (SSC)
  • Compatible with all OMAP™ 2x, OMAP™ 3x, and DaVinci™ Application Processors

Applications

  • LCD Display Panel Driver
  • UMPC and Netbook PC
  • Digital Picture Frame

Videos

FlatLink Transmitter Diagram

Chart - Texas Instruments SN75LVDS83B Flatlink™ Transmitters

Block Diagram

Block Diagram - Texas Instruments SN75LVDS83B Flatlink™ Transmitters
Veröffentlichungsdatum: 2009-06-17 | Aktualisiert: 2022-03-11