Toshiba TC78S121 PWM Dual-Stepping Motor Drivers
Toshiba TC78S121 PWM Dual-Stepping Motor Drivers are chopper type dual-stepping motor drivers that can drive up to four brushed DC motors. The drivers incorporate two pairs of H-bridge drivers, and can drive two DC motors or a single stepping motor. The IC incorporates the VCC regulator for internal circuit operation, so an external power supply (5V) is not required.
Features
- Single-chip motor driver for bipolar stepping motor control
- Monolithic IC structured by CD process
- 0.6Ω low ON-resistance
- In large mode, the ON-resistance of combined H-bridges is 0.3Ω
- Over-current detection (ISD), thermal shutdown (TSD), and VM power-on reset circuits
- IC incorporates the VCC regulator for internal circuit operation, an external power supply (5V) is not required
- 40V maximum output withstand voltage
- Output current
- 2.0A maximum in DC Motor (S) mode
- 1.5A maximum in Stepping Motor (S) mode
- Chopping frequency can be set by an external capacitor and resistor. High-speed chopping is possible at 100kHz or higher.
Specifications
- 40V maximum motor power supply
- 40V maximum motor output voltage
- 2.0A to 5.0A maximum motor output current range
- 6.0V maximum internal logic power supply
- 1.3W maximum power dissipation
- 40kHz to 150kHz chopping frequency setting range
- -20°C to +85°C operating temperature range
Datasheets
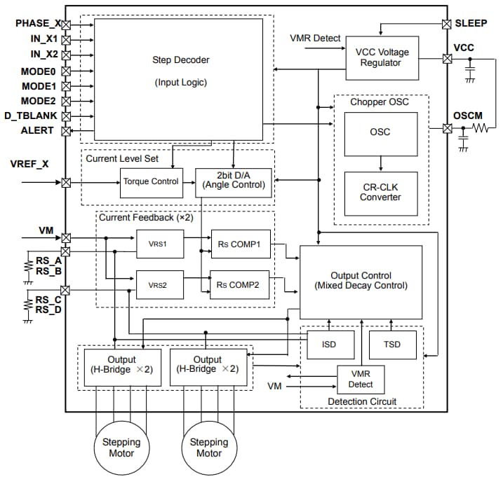
Block Diagram
Veröffentlichungsdatum: 2018-09-06
| Aktualisiert: 2025-12-05
