Vishay 2Wx Einphasen-Brückengleichrichter
Die Einphasen-Brückengleichrichter der Baureihe 2Wx von Vishay bieten eine hohe Stoßstrombelastbarkeit und eine hohe Gehäuse-Durchschlagfestigkeit. Diese Gleichrichter zeichnen sich durch einen typischen IR von 0,5 μA, einen Spitzen-Durchlassstoßstrom von 60 A (halbe Sinuswelle, überlagert auf die Nennlast) und einen Betriebstemperaturbereich von -55 °C bis +150 °C aus. Die Brückengleichrichter der Baureihe 2Wx erfüllen die Brennbarkeitsklasse UL 94 V-0 und sind in einem WOG-Gehäuse erhältlich. Diese Brückengleichrichter sind RoHS-konform und lötbar gemäß J-STD-002 und JESD22-B102. Die Einphasen-Brückengleichrichter der Baureihe 2Wx eignen sich hervorragend für Leiterplatten, Adapter, Netzteile, Ladegeräte, Beleuchtungsvorschaltgeräte für Verbraucher sowie Haushaltsgeräte.Merkmale
- UL-Zulassung, File Number E54214
- Ideal für Leiterplatten
- Typischer IR kleiner als 0,5 μA
- Hohe Durchschlagfestigkeit
- Hohe Stoßstrombelastbarkeit
- Tauchlöten 260 °C, 40 s
Applikationen
- Leiterplatten
- Stromversorgungen
- Adapter
- Ladegeräte
- Beleuchtungs-Vorschaltgeräte für Verbraucher
- Haushaltsgeräte
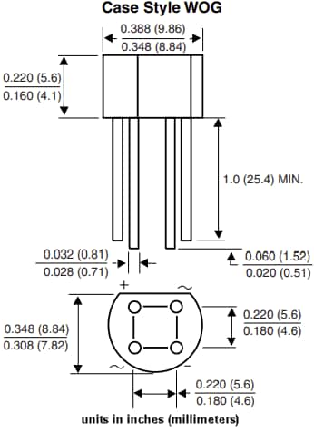
Maßbild
Veröffentlichungsdatum: 2025-02-05
| Aktualisiert: 2025-03-18
