Texas Instruments TPS40345EVM-353 Evaluierungsmodul

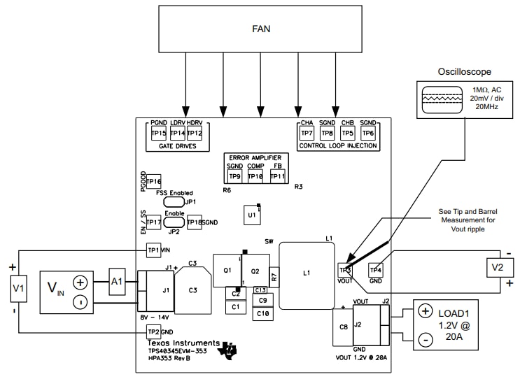
Das Texas Instruments TPS40345EVM-353 Evaluierungsmodul ist zur Evaluierung der Funktionsweise des TPS40345 ausgelegt. Der TPS40345 ist ein synchroner Abwärtswandler, der einen festen 1,2V-Ausgang bei bis zu 20 A von einem 12V-Eingangsbus bietet. Das TPS40345EVM-353 ermöglicht bequeme Testpunkte für einfache, nicht-invasive Messungen der Leistungsfähigkeit des Wandlers. Das Bauteil enthält mehrere Funktionen, einschließlich einer Schaltfrequenz von 600 kHz und 20 A Laststrom im stationären Zustand. Das TPS40345EVM-353 ist so ausgelegt, dass es von einer Einzelversorgung eingeschaltet werden kann und keine zusätzliche Vorspannung benötigt.

Merkmale

  • Eingangsspannungsbereich: 8 V bis 14 V
  • Ausgangsbetriebsspannung: 1,2 V ± 2 %
  • Laststrom von 20 A im stationären Zustand
  • 600 kHz Schaltfrequenz
  • Einfacher Zugriff auf IC-Funktionen, einschließlich Power-Good, Freigabe, Soft-Start und Fehlerverstärker
  • Bequeme Testpunkte für einfache, nicht-invasive Messungen der Leistungsfähigkeit des Wandlers.

Einstellung - Tabelle

Tabelle - Texas Instruments TPS40345EVM-353 Evaluierungsmodul
Veröffentlichungsdatum: 2018-11-15 | Aktualisiert: 2025-03-06